José Ferreira da Cunha e Sousa, Memória de Aveiro no séc. XIX, Vol. VI, pp. 177-202.


Espécie de prefácioAdministração antiga, antigas autoridades, etc.Limites da Cidade, freguesia de N. S. da Glória, etc.Limites da Cidade, Freguesia da Vera Cruz, etc.Limites da Cidade a Nascente.Litoral e PescaEspírito SantoTorre e Igreja da Senhora da GlóriaCemitérioEncanamento de águas da freguesia da Glória. Casa do Visconde de Almeidinha. Governo CivilRecolhimento das BeatasAinda o Terreiro. Rua do Caneiro. AsilosRua da Palmeira, Largo da apresentação, Rua de José Estêvão. Outros melhoramentos. Caixa EconómicaPelourinhoCojo e Melhoramentos. Mercado. Rua da Vila Nova. Antigo HospitalAinda o Ilhote. Seixal. CemitériosRua da PalmeiraAntiga Guarnição Militar. Capitania-mor de OrdenançasBatalhão de Voluntários RealistasBispadoPraça Municipal, edifícios e ruas que a cercam, S. Miguel, Paço, Costeira, etc. Governo Civil, Paço e LiceuAradaLugar de SáEstrada e Caminhos de FerroQuartelO Senhor das BarrocasNotícia Resumida dos ConventosCapitania-Mor de Ordenanças


 

◄◄◄ Continuação do n.º 22, pág. 100

/ 177 / [VoI.VI - Nº 23 -1940]  

II

LITORAL E PESCA

É curioso saber-se qual a razão por que a costa de S. Jacinto pertencia a Ovar: é tradição constante que a barra de Aveiro existiu primitivamente, ainda ao norte da Torreira, mas, com tendência de abrir sempre para o sul, foi estacionar perto da costa de Mira, sendo

essa a causa das febres paludosas que a povoação desta cidade sofreu por muito tempo, e a saída de muitas pessoas e famílias inteiras para fora dela, porquanto, ficando longe a entrada da água do mar, as marés não chegavam a toda a ria, que pouco a pouco se foi convertendo em ilhotas e produzindo caniços e outros vegetais, quero dizer, outras plantas próprias das águas, mistas, e tanto cresciam esses vegetais, que não deixavam o vento impelir os barcos, sendo por isso que começaram a usar-se as velas de forma especial na nossa ria, adaptadas a receber o vento no alto, onde não chegavam a embaraçá-las os caniçais das margens dos esteiros.

Ora a Câmara de Ovar foi-se apoderando sempre do areal que o afastamento da barra para o sul deixava a norte dela, e tanto cuidado tinha em conservar esta posse até ao marco de Mira, que, a despeito da abertura da barra actual, se manteve também na posse dos areais que ficam ao sul da mesma barra, quero dizer, da nova barra até ao marco de Mira. E assim, não só das costas da Torreira e S. Jacinto, mas também da Costa Nova do Prado, em que os pescadores de Ílhavo que até essa ocasião trabalhavam na costa de S. Jacinto, colocaram os seus barcos, redes e mais aprestes, e edificaram palheiros, continuando a trabalhar, tendo assim início a Costa Nova do Prado, de que mais tarde se falará, e isto pela dificuldade de se transportarem todos os dias para S. Jacinto através das correntes da barra.

/ 178 /  Os concelhos fronteiros ao areal pouco se embaraçavam com esta posse, porque as costas não eram povoações fixas, mas só para assim dizer uns abarracamentos para guardas de materiais das campanhas durante o inverno, em que elas não trabalhavam nas costas, e também não julgavam de cobiçar a posse destes areais, por serem considerados geralmente como de todo improdutivos; a Câmara de Ovar algum proveito, porém, deles tirou, como eram taxas das licenças, os direitos de vinho, que em quantidade se vendia nas costas, durante a temporada da pesca, e finalmente, porque as justiças informadas pelos compradores de sardinha, que naquele tempo eram todos de Ovar, de qualquer rixa ou desordem entre os pescadores, que segundo a antiga jurisprudência, fosse caso de devassa, instauravam processo e obrigavam os pobres delinquentes a irem responder a Ovar, tendo de deliberar-se aí, embora já estivessem livres nos juízes de domicílio das querelas, por ventura intentadas aí por parte dos queixosos.

A pesca do mar estava na maior decadência desde que as campanhas de Ílhavo, como já dito fica, abandonaram em 1807 a costa de S. Jacinto. Aqui ficaram apenas duas campanhas de pescadores, a Enchada e a Canária, pobres, empenhadas e mal administradas. Mas assim se foram arrastando, até que mais tarde Manuel Firmino de Almeida Maia, comprando-lhes os aparelhos e acrescentando-as, fundou aí uma campanha, seguindo-se outras a seu exemplo, e remoçando-se assim a costa de S. Jacinto, que estava quase reduzida a um deserto.

Chegou a haver à beira do rio um único palheiro; além de quatro ou seis à beira-mar, pertencentes ou às ditas duas companhas, ou a pessoas da cidade, ocupados na época balnear por alguns, mui poucos, frades ou negociantes velhos e reumáticos que ali iam procurar alívio em seus achaques.

No palheiro à beira do rio, havia uma taberna, administrada pelo velho e mui conhecido Siopra, natural de Águeda e avô de José Maria Veloso, que foi algum tempo amanuense do  Governo Civil e poeta.

ESPÍRITO SANTO

Ao tratarmos dos limites da cidade no primeiro quartel do século XIX e ainda até ao meado do seguinte, mencionamos algumas alterações e melhoramentos efectuados principalmente no segundo quartel do dito século.

Resta, porém, apontar alguns efectuados no interior da cidade.

No largo do Espírito Santo, entre as aberturas das ruas de S. Sebastião e S. Martinho, no local onde hoje está uma casa / 179 / construída pelo Padre Manuel Mário da Encarnação Pinto, existia a igreja paroquial da freguesia do Espírito Santo, composta do bairro de Cimo de Vila, como então se chamava e ainda hoje se chama à parte da cidade construída fora das muralhas, e ao sul destas de mais algumas ruas da cidade e dos lugares de Vilar e S. Bernardo; ora, como a parte que esta freguesia tinha na cidade era o mais pobre e os habitantes daqueles dois lugares apenas viessem à igreja para cumprir o preceito quaresmal, tendo capelães que lhes diziam missa nos dias santificados nas respectivas capelas, cujo culto e mais despesas de conservação e ornatos eram feitos à custa dos mesmos habitantes, seguia-se daí que esta igreja fosse das quatro paróquias a mais pobre e a mais mal tratada, carecendo de alfaias e ornamentos.

E quando por ocasião da demolição da igreja de S. Miguel, em 1835, foi erecta em paroquial a do convento de S. Domingos, reunidas em uma as duas freguesias, ao sul do canal da cidade, assim como também o foram as duas freguesias do norte, foi abandonada a igreja do Espírito Santo(JFS1), sendo fechada ao culto, e arruinando-se pouco a pouco, até que em 1858 foi demolida, e assim como o cruzeiro que no largo havia em frente da porta principal, e mais tarde, em 18... foi levantado um chafariz, que agora se acha no mesmo largo.

 

TORRE E IGREJA DA SENHORA DA GLÓRIA

E por que o convento de S. Domingos apenas tinha um sino em um campanário no interior do edifício, tratou-se de edificar torre sobre uma capela à direita de quem entra; reconheceu-se depois que as paredes não comportariam o peso, pelo que, demolido o trabalho já feito e já adiantado, foi a torre construída sobre a capela da Senhora da Escadinha que estava sobre o portão que ainda se conserva e que era uma das serventias do convento e dá hoje serventia para a sacristia. Para esta capela subia-se por uma escada de pedra, junto à parede da igreja e que partia junto da porta principal dela, e terminava em uma varanda para a qual dava a porta da capela.

Foi a torre construída pelo mestre de obras Bernardo António da Graça, sendo nela colocados os sinos que foram da igreja de S. Miguel e o do convento, ao qual a crença popular atribuía a virtude de dissipar ou afugentar qualquer trovoada próxima ou iminente, sendo nessa ocasião tangido.(JFS2)

Teve lugar esta construção em 1862, e os sinos tocados pela primeira vez em 28 de Maio deste mesmo ano. / 180 / 

CEMITÉRIO

Também é obra posterior a 1834 a construção do cemitério público, em parte da cerca do convento de S. Domingos. Não se olhou para a construção dele, senão ao lado económico, pois que o terreno foi cedido para esse fim.(JFS3)

Foi pena, pois que era este sítio um dos melhores para construções, com lindas vistas e em uma elevação que deveria tornar apreciados os prédios que se construíssem.

Até 1838, em que o cemitério foi construído, faziam-se os enterramentos nas igrejas, ou nas dos conventos de frades, se assim o tinham desejado e recomendado.

Os frades eram sepultados nos seus claustros e vendiam as sepulturas das igrejas aos seculares que sem prejuízo dos direitos paroquiais, ali queriam ser sepultados.

E os frades de Santo António vendiam hábitos usados para mortalhas, pois que naquele tempo nenhum cadáver deixava de ser amortalhado em hábito de frade ou de freira, segundo o seu sexo.

 

ENCANAMENTO DE ÁGUAS DA FREGUESIA DA GLÓRIA.

CASA DO VISCONDE DE ALMEIDINHA. GOVERNO CIVIL.

Outros melhoramentos de menos importância foram efectuados na cidade, além dos que respeitam às portas da cidade e sua demolição, bem como à demolição dos Paços do Bispo, transformação do Largo hoje Municipal, edifícios que o defrontam, do que tudo se tratará em capítulo especial, notando por agora somente o capeamento do cano de águas que vem do Espírito Santo, na parte em que corria pela rua do Loureiro, junto ao muro da cerca das Carmelitas, recebendo aí os despejos do mesmo convento, encanamento este que seguindo subterrâneo até ao quintal da casa, hoje do Sr. Prior da Vera Cruz, passava a descoberto através das ruas do Alboi em direcção à ria.

São obra dos nossos dias, e já do século XX, o alargamento do largo chamado do Terreiro, em frente da casa da família Sousa da Silveira, hoje edifício do Governo Civil, assim como a conclusão deste edifício, para cuja construção o Dr. José Maria Barbosa de Magalhães alcançou do Governo um valioso donativo, adquirindo a Câmara as ruínas da antiga casa, que foi incendiada em 1871, e que levou bastante tempo a construir pela falta da remessa dos meios necessários.

/ 181 / Note-se que a casa incendiada não era a primitiva que os morgados de Alqueidão tiveram nesta cidade, mas sim a outra que, posto mais velha, ainda existe ao lado do norte do Terreiro, da qual se passava para a outra por um arco que ficava à entrada para a rua da Sé ou das Beatas, o qual foi demolido por ocasião do incêndio, e suprimida uma pequena capela ou oratório que debaixo dele ficava ao lado poente.

Nesta capela costumava armar-se um dos passos do Senhor, por ocasião da procissão do Senhor dos Passos(JFS4), que saía da Glória para o Carmo.

 

RECOLHIMENTO DAS BEATAS

Esta pequena rua tinha o nome de rua das Beatas, porque assim eram chamadas umas recolhidas que parece não tinham todos os votos monásticos e que viviam pobremente em um convento mal acabado, unido à igreja que existe nesta rua, e depois rua da Sé.

Em 183..., existindo só quatro recolhidas, já muito avançadas em idade, faltando-lhes os meios para a sua sustentação e culto da igreja respectiva, foi o convento suprimido, e elas recolhidas nas casas de seus parentes, com uma pensão que o governo lhes assinou pelos ténues rendimentos dos bens e capitais que foram incorporados na fazenda pública.

A isto seguiu-se obter do Governo o último bispo D. Manuel Pacheco de Resende a igreja, em que colocou a sua Sé, transferida da Misericórdia, e bem assim o edifício do convento, em que o mesmo bispo desejava estabelecer o seu seminário, não o conseguindo, porém, por falecer em ... de …….de 1836.

 

AINDA O TERREIRO. RUA DO CANEIRO. ASILOS.

Por ocasião da conclusão do edifício do Governo Civil, foi aberta a travessa que comunica o Terreiro com a rua do Jardim.

Também é dos nossos dias o alinhamento e alargamento da rua do Caneiro, a abertura da rua que vai do Espírito Santo ao Jardim, onde se acha o edifício dos Asilos da Infância Desvalida. Isto quanto à freguesia de Nossa Senhora da Glória.

 

RUA DA PALMEIRA, LARGO DA APRESENTAÇÃO, RUA DE JOSÉ ESTÊVÃO.

OUTROS MELHORAMENTOS. CAIXA ECONÓMICA

Pelo que toca à freguesia da Vera Cruz, além dos melhoramentos de que já se falou, e da rua da Palmeira que vai do Largo da Apresentação para a rua de S. Roque, / 182 / e da estrada que vai da Praça do Peixe pela Beira-Mar, até ao passo de nível do caminho de ferro, na estrada de Esgueira, tudo obra dos nossos dias, deve mencionar-se a rua de José Estêvão, desde a Caixa Económica até à Ponte, que era nos tempos antigos uma rua estreita e escura, pouco ou nada limpa, chamada vulgarmente rua dos Burros, sendo formada de um dos lados pelas traseiras das casas da rua dos Mercadores, e pelo outro de velhas casas onde os negociantes daquele tempo recolhiam as cavalgaduras que precisavam ter por causa dos mercados mensais que costumavam frequentar. Portanto, ao fim da rua de Vila Nova, segue para o sul a rua de José Estêvão (outrora Rua Larga), a qual findava no sítio em que se acha o edifício da Caixa Económica. Aí alargava, por efeito de um pardieiro de antigas casas, sobre o qual se acha levantado o mesmo edifício, seguindo daí até à ponte a tal rua dos Burros, cujo nome oficial não sei.

Convém saber que enquanto não tivemos estradas e caminhos de ferro, todos os que tinham necessidade de jornadear, tinham, podendo, uma cavalgadura para seu uso. Assim, tais eram os negociantes da praça e rua dos Mercadores, que, como se disse, costumavam, como alguns costumam ainda, frequentar os próximos mercados ou feiras mensais, e era nesta rua que todos tinham cavalariças para as suas cavalgaduras nas casas do lado do nascente. E por isso que a rua tinha o nome acima dito.

A abertura desta rua, à custa das sobreditas casas, em lugar das quais se vê hoje o mais regular quarteirão da cidade, foi uma das melhores obras municipais ultimamente realizadas. A rua, assim alargada e igualmente aformoseada, ficou fazendo parte da rua José Estêvão. E pena foi que na construção das novas casas, interesses particulares avançassem a linha dos prédios, a norte, além do alinhamento, prejudicando-se assim a beleza desta rua, assim como que, por ocasião da edificação da casa da Caixa Económica, a Direcção respectiva não comprasse também a casa contígua pelo lado do Côjo, prolongando o edifício com frente para este Largo, (então ainda era um largo), e finalmente, que a Câmara se não entendesse com a mesma Direcção para o efeito de se prolongar a travessa Mendes Leite até ao Côjo, em recta e com a mesma largura entre o edifício da Caixa e a casa que lhe defronta pelo Norte. Assim mesmo, o edifício da Caixa, que foi edificado sobre um pardieiro de que ainda conheci os restos das paredes, e que havia muitos anos se achava desaproveitado, contribuiu para o melhoramento material da cidade, assim como a Caixa eficazmente contribuiu para ele na parte moral e económica.

Foi a Caixa fundada pelo governador civil Nicolau Anastácio de Bettencourt, no ano de 1858; nisto foi auxiliado por muitas das principais pessoas da cidade, embora muitas delas só por condescendência, e sem fé na duração do estabelecimento.

/ 183 /  Entre estas se distinguiu Sebastião de Carvalho e Lima, facultando os seus cabedais para os primeiros empréstimos e continuando como presidente de sucessivas Direcções a manter os créditos da Caixa e a promover a confiança pública nela e a sua boa e regular administração.

Quem estas linhas primitivamente escreveu e que foram para aqui trasladadas por seu filho, foi a pedido do Governador Civil o fiador do primeiro empréstimo que a Caixa fez, perdendo quase todo o capital afiançado que teve de satisfazer à Caixa pela falência do devedor.

Nesta rua nasceu José Estêvão, na casa onde hoje existe colocada pela Câmara Municipal uma lápide comemorativa.

Em frente da igreja da Apresentação havia um adro que ocupava quase todo aquele pequeno largo, muito mais alto do que elas (as ruas) e subindo-se para ele por uma escada de pedra; ao fundo do mesmo largo, à altura da entrada da rua do Sol, pouco distante da escada havia um cruzeiro. O adro era cercado de muro, sendo a abertura principal em frente da porta principal da igreja, ficando o seu recinto muito alto e nivelado, e por consequência sem o declive que agora tem o largo. Outras duas entradas havia para ele, uma ao direito da rua de Vila Nova (Vera Cruz ou Manuel Firmino) e, outra, próxima da torre para a Palmeira por uma escada, porque o adro ainda aí ficava muito superior ao pavimento da rua entre o seu muro de poente e as casas que por este lado fixam o largo actual, as quais estão no mesmo antigo alinhamento.

Quando possível, seria de toda a conveniência que se prolongasse a rua de Vila Nova, através do largo e das casas a poente dele, até se unir com a rua que finda em frente do adro da capela de S. Gonçalinho.

PELOURINHO

No Rossio, em frente da rua da Rainha, havia o pelourinho, que não mostrava ser antigo e que se achava em bom estado de conservação, tendo sido demolido depois de 1834.

Aveiro - Antigo aspecto do Côjo com o aqueduto. (pág. 184)

CÔJO E MELHORAMENTOS. MERCADO. RUA DE VILA NOVA. ANTIGO HOSPITAL.

O Côjo, antes de se edificar nele o Mercado Manuel Firmino, cuja construção durou por todo o ano de 1898 e que foi inaugurado no 1º de Janeiro de 1899, e além dos edifícios construídos recentemente no terreno que foi o Ilhote, a casa do Sr. Firmino de Vilhena, a nascente da Avenida Bento de Moura e as casas / 184 / ao fundo do quintal das senhoras Mesquitas, era um largo irregular, para onde davam saída os quintais de algumas casas da [IMAGEM DE AVEIRO – DESENHO ASSINADO DE 1891] rua de Vila Nova, sem casa alguma de habitação, além da que está entre as duas travessas, encostada às traseiras da Caixa Económica, não havendo como agora há a Avenida Bento de / 185 / Moura e a travessa ainda sem nome entre as casas de José Ferreira da Cunha e Sousa e José António Marques, substituindo a antiga e estreitíssima viela do Hospital que ali havia e dava passagem da rua de Vila Nova para o Côjo, sendo para esse fim demolida a casa que foi nos princípios do século passado do capitão João Dionísio e que corria a par da mesma viela.

Era só pela viela do Rolão e por esta viela que o Côjo se comunicava com a rua de Vila Nova, hoje de Manuel Firmino, mas que me parece nunca deveria perder aquele antigo nome, pelo qual se mostrava ter sido a primeira que se abriu, quando a população começou a estender-se para o norte das muralhas da antiga vila.

Sabido é que a vila de Aveiro era cercada de muralhas que o infante D. Pedro, filho de el-rei D. João I, mandou construir ou reedificar; compreendia, portanto, a vila somente a parte da cidade ao sul das pontes, desde as portas da Ribeira, que aí eram, até à rua do Rato, que ficava já de fora, pois que por esse lado a muralha ocupava o quarteirão entre ela e a rua de Jesus.

Era isto. Crescendo a população e não cabendo já no recinto amuralhado, foi na rua da Vera Cruz ou de Manuel Firmino que se fizeram as primeiras edificações ao norte das pontes, e nem podia deixar de ser assim, porque o Côjo, a Praça e Rossio eram nesse tempo lodaçais sem a necessária consistência para firmeza de alicerces e segurança de prédios, não havendo de mais a mais as cortinas do canal. Ainda hoje em recentes construções tem sido reconhecido este defeito dos terrenos, atendendo-o com grades de madeiras e outros trabalhos preventivos.

Com razão, pois, tomou esta rua o nome de Vila Nova, assim como foi dado o de Cimo de Vila às do Espírito Santo, S. Sebastião, S. Martinho, etc. O nome, pois, de Vila Nova, é o que esta rua devia conservar para sempre; também lhe chamavam rua dos Ourives, porque só nela havia ourivesarias, mas este não era o nome oficial, era como uma alcunha.

Crismaram-na, depois, há poucos anos, em rua da Vera Cruz, e ultimamente em rua de Manuel Firmino. Pegará? Será o último? Nestes últimos tempos tem havido uma febre vertiginosa em mudar os nomes das ruas, e em dar assim às existentes como às abertas de novo, nomes de pessoas colocadas em altas posições políticas, algumas das quais nenhum título possuem pelo qual tenham jus à consideração desta cidade; pessoas até desconhecidas da grande maioria de seus habitantes, ao passo que ninguém se tem lembrado de prestar essa homenagem à memória de filhos de Aveiro, dignos da veneração dos seus conterrâneos.

Podemos procurar, mas não encontraremos rua ou mesmo um beco com o nome, por exemplo, de João Afonso de Aveiro,  / 186 / ou de Antónia Rodrigues. Será porque estes já deram o que tinham a dar, enquanto dos que ainda vivem alguma coisa se espera, se não para a cidade, ao menos para quem se lembra de os adular por esta forma?

Ou para assim lhes agradecer serviços e favores puramente pessoais?

Dizem-me que a algumas ruas recentemente abertas alguns nomes de filhos antigos e ilustres de Aveiro lhes têm sido dados. Ainda bem, e valha-nos isso, embora persista em confessar que tal orientação tem sido pouco seguida.

Nesta rua houve em tempos remotos um hospital de pescadores; era onde hoje é a casa de José Ferreira da Cunha e Sousa, e contígua a ele havia a capela da invocação de Nossa Senhora da Graça, se nisso me não engano, a qual ainda existia, posto que velha e arruinada, no primeiro quartel do século passado; tendo, porém, caído em ruínas, foi o terreno aforado a Joana Gamelas, viúva de José Vinagre, que o reuniu à casa que já possuía junto dele.

Muitas casas desta rua têm sido reedificadas, e algumas com muito melhor aspecto, tendo as Câmaras perdido essas ocasiões de dar à rua um melhor alinhamento, do qual tanto carece, assim como de serem retirados os degraus para a entrada de portais que ainda mais a estreitam. A estreiteza em alguns pontos desta rua, sendo tal que dificilmente pode uma carruagem passar por outra que venha em direcção oposta, defeito este mais sensível em uma rua que é estrada real de segunda classe, obrigou a Direcção das Obras Públicas a propor ao Governo a abertura da avenida para o Côjo, para o que, autorizada, se procedeu a essa obra que foi concluída em 18...

Ao tempo em que isto se escreve, acha-se o Ilhote em parte aterrado e unido à estrada, construindo-se nele os edifícios que lá se vêem.
 

AINDA O ILHOTE, ETC. SEIXAL, CEMITÉRIOS

Tendo nós já falado no Ilhote, alguma coisa ainda há a dizer. Da esquina do quintal da casa de José Ferreira da Cunha e Sousa começava quase em recta a linha das paredes dos quintais incluídos ou demolidos para a abertura da avenida Bento de Moura, continuando essa linha com o valado que fechava a quinta do Seixal, Mendes Leite. Havia, pois, o Ilhote, uma espécie de península, entre os dois esteiros, o que ia até ao fim dos Arcos, que já não existe, desde a construção da estrada do Americano, e o outro do lado do sul que vai até à malhada da Fonte Nova.

Como já dissemos, era um terreno inculto, com lagos e poças onde viviam milhares de rãs e se produziam silvas, bajunças, / 187 / caniços e outros vegetais semelhantes. Era, portanto, o Ilhote irregular, aqui alto, ali baixo, alagadiço, conservando-se nele lagoas permanentes, formadas tanto pelas águas fluviais, como pela invasão das da Ria.

Aveiro - Vista do antigo ilhote e aqueduto da fonte da Praça. (pág. 187)

José Ferreira Pinto Basto, cujo génio empreendedor é bem conhecido, comprou o Ilhote à Casa Barreto Ferraz e quis fazer nele moinhos que trabalhassem com a enchente e com a vazante; fez construir para esse fim a casa que ainda existe, e que, feito outro andar, é onde hoje se acha estabelecida a Escola Industrial Fernando Caldeira, e desaterrou uma parte do Ilhote para formar a caldeira, isto nos anos de 1828 para 1829. Ou por erros de cálculo, ou porque o edifício abateu, ficou a obra inutilizada e perdida a despesa, que se dizia ter sido de oitenta mil cruzados ou trinta e seis contos de reis.

Tentou-se depois aproveitar a caldeira para uma salina que chegou a ser construída, mas igual resultado deu esta tentativa, por ser insignificante a produção do sal e este incapaz de entrar no mercado.

Ficou tudo ao abandono. Foi Mendes Leite quem, tendo comprado a Ferreiras Pintos o Ilhote, assim como as mais terras que haviam pertencido aos frades de S. Domingos e que José Ferreira Pinto Basto havia adquirido depois da supressão dos conventos, fez pouco a pouco aterrar a caldeira desde a casa dos moinhos até às da viúva de João Justino Gamelas, aproveitando para isso os entulhos resultantes das edificações e obras na / 188 / cidade e os lastros dos navios que conseguiu serem ali depositadas.

O canal do norte ainda ficou por alguns anos até defronte da viela do Rolão, sendo afinal suprimida quando se construiu a estrada do Americano. Ora o esteiro, o caminho entre ele e a quinta e a arcada tudo findava onde agora passa a estrada para a Fonte Nova, mas um pouco a norte, como fica dito que seguiam. Daí para cima, como os terrenos eram muito mais altos, o cano da água vinha sobre uns muros através das quintas e seguia sobre o primeiro arco, o qual estava sobre um caminho que daí seguia para Arnelas, caminho muito baixo, escuro, lamacento sempre, porque nele rebentavam muitas nascentes de água; de ambos os lados os terrenos eram muito altos e espessos valados e árvores os defendiam, juntando as copas e formando como que um túnel, até ao ponto em que termina ou por aquele lado começa a rua da Seixal. Daí por diante, o caminho alteava, continuando de um lado o vale da quinta de D. Margarida Angélica Henriques de Carvalho, e do outro, o muro da cerca do convento do Carmo, hoje propriedade dos filhos de Sebastião de Carvalho e Lima. Não havia a estrada que hoje segue de Arnelas para a Estação, e só a que vai para a Forca, vinda de Sá, por entre o muro da sobredita cerca e a quinta do capitão José Pereira da Cunha.

Foi, então, que a Câmara Municipal (186_) resolveu prover radicalmente a este deplorável estado de coisas. Por esta ocasião, houve o projecto de construir uma estrada do Rossio até à Estação que pudesse ser servida por um caminho de ferro do sistema americano; fez-se a estrada, mas não o caminho de ferro, sem embargo do que muita gente lhe ficou chamando e ainda hoje lhe chama a estrada do Americano. Na casa à esquina do Largo do Côjo, (há-de ser sempre Largo!) ainda se vêem os vestígios dos arcos embutidos na parede.

Não havendo casa alguma no vale do Côjo, nem com frente para ele, mas só algumas portas de quintais das casas das ruas de Vila Nova, José Estêvão, e Seixal, era este um sítio escuro, principalmente da viela do Rolão para cima, pois que nesta parte, sempre sujo e de maus encontros, nenhuma pessoa decente o frequentava.

Eu disse que a Casa do Seixal, hoje da família Mendes Leite, fora de António Nuno. Era este um dos cavalheiros mais distintos da cidade. Sendo legitimista, retirou para Coimbra, e aí faleceu, não deixando descendência. Foram seus herdeiros os senhores Champalimaud, que venderam a casa e quinta a Mendes Leite. Abandonado assim a Ilhote, lembrou-se alguém de cultivar a parte alterada desde a casa chamada dos moinhos até à casa da viúva do João Justino, e de fazer uma piscina no restante. Assim se fez, mas em poucos anos se viu que não valia a pena, pois criava pouco peixe, e este de má qualidade.

/ 189 /  Quem lucrou com esta obra foi Mendes Leite, porque os aterros de tal piscina os aproveitou ele para altear a parte baixa da quinta do Seixal, confinante com a estrada do Americano.

Como dissemos já, esta quinta pertencera a uma senhora que, chamando para sua companhia um parente por nome António Nuno Cabral Montez, ficou este herdeiro dela, por morte do irmão.

Ultimamente empreendeu a Junta da Barra a aquisição e aterro do Ilhote, desde a casa da viúva de João Justino e outros conjuntos até à estrada que o atravessa, dando comunicação às duas freguesias da cidade, estrada muito útil para os que das povoações do sul da cidade se dirigem à Estação do caminho de ferro. Resta uma pequena parte por aterrar, neste mês e ano de Setembro de 1908, e a parte já aterrada, posto que não esteja nivelada, tem diversos fins, tendo nela lugar nos dias 28 de cada mês, um mercado ultimamente criado pela Câmara Municipal.

Diz-se também que neste largo vai ser edificada a Estação do caminho de ferro do Vale do Vouga, e bom é que este largo seja aproveitado sob um carácter permanente para qualquer fim que lhe tire aquele aspecto desgracioso que ainda hoje tem (5), contribuindo com a vista do cemitério para tornar pouco simpática aos viajantes estranhos esta entrada da cidade. Na verdade, importava e impunha-se a necessidade de mudar o cemitério para outro ponto ou de levantar o muro que já teve e que não foi reedificado. E certo que ele tem bastantes capelas, mas para as não transferir, deixasse-se apenas este cemitério para os possuidores delas (6). Também se impunha a necessidade de corrigir muitos erros a diversos epitáfios que ali se encontram.

RUA DA PALMEIRA

A rua que do Largo da Apresentação vai em direitura à de S. Roque é obra dos nossos dias, assim como a fonte da Vera Cruz, pouco mais ou menos no sítio onde antigamente havia um cruzeiro, tratando-se actualmente também de abrir uma rua, no que já se trabalha, que, partindo do Largo da Vera Cruz, e começando entre as obras da igreja e as casas do Dr. Francisco António Marques de Moura, vai directamente à rua de S. Roque. / 190 /

~

ANTIGA GUARNIÇÃO MILITAR.

CAPITANIA-MOR DE ORDENANÇAS.

Terminada que foi a guerra peninsular, foi colocado em Aveiro o Batalhão de Caçadores nº 10, que poucos anos aqui se demorou; pois que, saindo em virtude dos acontecimentos que se seguiram à gloriosa revolução de 1820, só recolheu em 3 de Maio de 1828, retirando logo em 16 do dito mês para a cidade do Porto, depois de feita nesta cidade a aclamação da Carta Constitucional e o reconhecimento de D. Maria II, e por consequência depois de proclamada a reacção à proclamação de D. Miguel, como rei absoluto, que havia tido lugar em 25 de Abril antecedente.

Como não havia quartel, foi o batalhão ocupar, parte o convento de S. Domingos, e parte, o palácio a esse tempo desabitado dos Marqueses de Arronches, que hoje pertence ao Sr. Arcipreste deste distrito eclesiástico, reverendo Manuel Ferreira Pinto de Sousa (7). Em S. Domingos, servia-se a parte do batalhão ali alojado, pela portaria que ainda hoje existe debaixo da torre e ocupando algumas casas baixas nos pátios do convento, tinha as casernas nas varandas que cercavam o claustro, exceptuada a do norte, da qual os frades não podiam prescindir, porque por ela se subia aos dormitórios. Nas três restantes estendeu-se uma tarimba que as ocupava todas, ficando uma estreita passagem entre ela e os parapeitos, e tapados os vãos entre as colunas que sustentavam o respectivo tecto por taipais de madeira que de noite se fechavam, abrindo-se de dia para renovação do ar.

Enquanto o batalhão esteve em Aveiro, havia guarda principal comandada por oficial subalterno; era na Praça do Comércio e na casa que hoje pertence à família Fontes; todos os dias era rendida com música que tocava, enquanto iam render-se as sentinelas da cadeia e casas do Comandante e do Governador Militar, entidade que houve até 1834, sendo sempre um oficial superior. O batalhão veio para Aveiro depois da paz geral em 1814, e o Governador Militar era também às vezes um capitão.

Quando, na ocasião de render-se a guarda, se via chegar à praça o comandante e outros oficiais, entre os quais o cirurgião-mor ou o seu ajudante, desde logo se ficava sabendo que haveria nesse dia o repugnante espectáculo da flagelação, bárbaro castigo então em uso. Com efeito, pouco depois aparecia / 191 / o infeliz condenado, que ali recebia o número de varadas que lhe tinham sido designadas, salvo se antes de completo o castigo, o facultativo assistente declarava que o paciente não podia receber mais sem risco de vida; entretanto a música tocava, mas nem sempre conseguia abafar os gritos e lamentos lancinantes do padecente; havia-os, porém, que recebiam todo o castigo sem um único ai; depois lá iam amparados por dois camaradas em direcção do hospital.

Também ali era visto com frequência o castigo de carregar com armas; o soldado ao qual esse castigo era aplicado, permanecia um certo número de horas em pé, na frente da casa da guarda, tendo uma espingarda em cada um dos ombros e duas ou mais atravessadas em cruz, e seguras de modo que não resvalassem.

Estes e outros castigos não contribuíram pouco para a repugnância da mocidade ao serviço militar, repugnância que felizmente se acha muito desvanecida. O soldado, além da enxerga, tinha apenas uma manta.

Tendo-se já falado na capitania-mor de ordenanças, deve acrescentar-se que desde o princípio do século passado foram capitães-mores a seguir a Manuel de Sousa da Silveira, da Casa do Terreiro, Miguel Rangel de Quadros, da Rua Direita, que era o morgado dos Santos Mártires; João Crisóstomo da Veiga e Lima, que, sendo culpado na devassa, chamada de rebelião, morreu homiziado, e Gabriel Lopes de Morais e Mariz Picado de Figueiredo Leão Balacó, morgado de Santa Catarina, o qual, tornando-se excessivamente faccioso, em favor de D. Miguel, teve de retirar para a Guarda, donde regressou passados que foram muitos anos, e falecendo enfim nesta cidade.

Os últimos capitães das companhias da cidade foram José Pereira da Cunha, Januário António Rodrigues Mieiro, Agostinho de Sousa Lopes, e Alexandre Ferreira da Cunha. Este último, que era cavaleiro de Santiago, por serviços durante as invasões francesas, foi reformado em capitão-mor em 1829, não chegando a tirar patente, porque logo nesse mesmo ano e pouco depois faleceu.

 

BATALHÃO DE VOLUNTÁRIOS REALISTAS

Durante o governo de D. Miguel houve também nesta cidade um batalhão de voluntários realistas, cujo primeiro comandante José Maria Rangel de Quadros, o morgado da Casa do Carmo, pediu a demissão por desinteligências com as autoridades civis que lhe faziam repetidas requisições de forças para dar cerco a casas e a quarteirões da cidade, em busca de constitucionais que aí se imaginava estarem homiziados; entendia que o batalhão / 192 / tinha sido criado para defender D. Miguel nos campos da batalha e nunca para dar caça a malhados, e muito mais, atendendo-se a que a maior parte das praças do batalhão tinham parentes e amigos culpados como liberais.

Permaneceu, no entanto, fiel à causa absolutista, e tanto que apenas D. Pedro entrou no Porto, saiu de Aveiro com seus dois irmãos Francisco e Diogo, assentando todos três praça em um regimento de cavalaria, recusando postos e servindo como soldados até a convenção de Évora-Monte. Quis assim realizar a profecia que fizera, quando por ocasião de demitir-se, alguns realistas mais facciosos o abuncalharam de ter virado a casaca, ao que ele respondeu que infelizmente se veria quem era mais afeiçoado a D. Miguel e à sua causa, se os que perseguiam os liberais, ou aqueles a quem essa perseguição, por estupidamente excedida, era altamente repugnante.

Havia um regimento de milícias (auxiliares) que reunia para revistas e exercícios, duas vezes por ano, e extraordinariamente, todo ou em parte, para substituir o batalhão de caçadores, depois que este se retirou.

BISPADO

Aveiro era sede de bispado desde o reinado de D. José I, ou antes, desde o governo do Marquês de Pombal; as datas da instituição, extinção, sua área, história dos seus bispos e finalmente quaisquer outras notícias que lhe sejam relativas farão objecto de uma notícia especial.

 

PRAÇA MUNICIPAL, EDIFÍCIOS E RUAS QUE A CERCAM, S. MIGUEL, PAÇO, COSTEIRA, ETC. GOVERNO CIVIL, PAÇO E LICEU

Primeiramente cumpre notar que a rua da Costeira era muito estreita, tendo sido alargada há poucos anos à custa da parte das casas da parte do nascente e por conta das obras públicas.

A entrada para a igreja da Misericórdia(JFS5) não era como agora está, mas simplesmente constava de uns degraus de pedra, em frente da porta principal (8).

/ 193 /  A casa em que hoje está o hospital era alugada pela Misericórdia; e o terreno que se lhe segue para o lado da Costeira era o cemitério dos Pobres que no hospital faleciam; este era nas traseiras, em seguida ao pátio por onde se' entra para a porta travessa da igreja, com frente para a Corredoura e porta para esta rua, que ainda hoje lá existe.

Aveiro - Antigo aspecto da Igreja da Misericórdia e dos Paços do Concelho. (pág. 193)

A Rua Direita, desde a sua entrada até à primeira travessa que a comunica com a Rua do Loureiro, era muito mais estreita, de maneira que a primeira casa do poente que pertencia a Luís Cipriano Coelho de Magalhães, avançava tão fora da linha que hoje tem, que nela havia uma janela que olhava para a Costeira; foi José Estêvão que lhe deu a largura actual, comprando todas as casas até à dita travessa, com o fim de fazer um jardim junto à casa que herdara de seu pai, o que a morte o não deixou concluir, ficando, porém, a rua na largura que ela tem.

Os Paços do Concelho foram construídos em 1797 pelo mestre Manuel de Pinho, natural de Ovar, mas estabelecido nesta cidade, onde deixou numerosa descendência, e diz-se que foi ele o primeiro que, tendo edificado a Cadeia, pela primeira vez a estreou.

Até 1834 não havia Tribunal no edifício da Câmara, porque tanto o corregedor como o provedor e juiz de fora faziam / 194 / audiências em suas próprias casas, e aí mesmo presidiam aos mais serviços da sua competência. O lado do poente do segundo andar era a hospedaria municipal que a Câmara era obrigada a dar por certos dias aos magistrados que chegavam de novo, até que arranjassem casa, e assim também a certos funcionários ou pessoas de superior importância social que à cidade viessem.

Para este fim tinha a Câmara louças, guardanapos, etc., e mais um faqueiro de prata.

Em frente da Casa Municipal não havia aquela espécie de terraço cercado de grades que hoje existe, mas apenas um estreito passeio com degraus, em frente da porta, de modo que quem queria, podia chegar às janelas das prisões inferiores para falar com algum dos presos, ou para lhes dar esmola que eles continuamente pediam a todos os transeuntes, pois que nesse tempo não tinham, como hoje, alimento fornecido pelo governo, e os das prisões de cima tinham para receber as esmolas uma corda com uma seira por aquela segura a uma das extremidades, que puxavam acima quando alguém nela lançava alguma esmola.

A Casa da Câmara, até que esta foi construída, era uma pequena casa situada ao fim dum beco na Costeira e nas traseiras das casas que depois foram incendiadas em 18..., achando-se outra casa sobre as suas ruínas.

O Teatro foi construído em 1881, por acções, sobre as ruínas de uma casa que existia à entrada da rua de Santa Catarina, e tendo sido adjudicada à fazenda pública por falta de lançador em uma execução fiscal, foi concedida à Câmara, a pedido de José Estêvão.(JFS6)

Por alguns anos se demorou a construção, até que afinal se levou a efeito.

Seguia-se a esta casa e ainda a uma outra o hospital chamado de S. Brás, sobre cujas ruínas está edificado o Liceu, também a diligências de José Estêvão.

Não era hospital, nem jamais o foi, mas sim uma hospedaria, para aí passarem a noite os romeiros que das terras do sul por aqui transitavam com destino a Santiago de Compostela, na Galiza.

Era crença naqueles tempos que quem não fosse a Santiago uma vez na vida ao menos, não podia salvar-se, de modo que pouca gente deixava de fazer esta romagem, quem podia, à sua custa; e quem era pobre, esmolando pelo caminho. Então aí, em tempos idos, um cavalheiro desta cidade e nela contador de fazenda, condoído dos peregrinos, estabeleceu aquela casa com acomodações, segundo o costume do tempo, estabelecendo-lhe rendas para sua sustentação na passagem, para pagar ao hospedeiro, e mais despesas inerentes, o que tudo consta de um testamento muito esquisito que deve existir no Governo Civil, onde pode pedir-se permissão para o ler, na certeza de que há-de achar no seu conteúdo e em diversas disposições muita graça e muita originalidade.

/ 195 /  Eu só conheci umas paredes velhas e muito defumadas, restos destas casas, pois que tendo esfriado a devoção a Santiago, os sucessores do fundador deixaram-nas cair por inúteis, e receberam os foros e rendas, até que tudo foi vendido há poucos anos.

O que hoje é a Praça Municipal era então ocupado pela igreja de S. Miguel e seu adro, com excepção das estreitas ruas que o ladeavam.

A igreja ficava ao lado do Norte, tendo a porta principal para o poente, e batendo a capela-mor na rua da Costeira. Entre a igreja, porém, e aquela linha de casas que hoje fecham a Praça pelo lado do norte, havia uma travessa, beco, ou como melhor se lhe possa chamar, correndo do nascente a poente. Deve, porém, advertir-se que esta linha de casas, entre as quais avulta a do Correio, era então muito diferente do que é hoje, havendo somente a porta de entrada para a Conservatória, que era a entrada principal do palácio dos Tavares, depois Paço do Bispo, não havendo mais coisa alguma do que era antigo. Essa porta conserva-se no mesmo local em que então se achava; de ambos os lados dela viam-se muros de pedra, irregulares na altura e no alinhamento, que mostravam terem sido paredes de casas demolidas ou de logradouros de algumas casas da rua dos Tavares, embora nesse caso lhes ficassem ao nível dos segundos andares.

Para a rua que segue para o Alboi e a seguir à viela muito estreita e pouco limpa que ainda hoje lá existe, havia uma pequena casa sobradada com entrada e janelas para o poente, parecendo-me que também tinha porta para a travessa; do lado da Costeira uma outra casa, também pequena com frente para a rua, mas com um andar superior com porta e janela para a travessa e com um pequeno varandim, donde para ela se descia por uma escada de pedra. E por outra estreita escada, também de pedra e de dois lanços se descia da travessa para a Costeira. Esta casa, acrescentada, foi depois a morada do marchante António José Lopes.

Se era irregular por este lado o alinhamento, mais irregular era ainda pelo lado da igreja, pela saliência da capela do Santíssimo Sacramento, de uma sacristia da confraria do Senhor dos Passos, da casa dos ossos e da torre. Esta, unida à capela-mor, mostrava ser de construção posterior à da igreja, e em um dos seus lados, no qual estava o sino menor, havia por debaixo dele uma figueira brava, pelo que o povo chamava àquele sino o sino da figueira. Aqui e ali, junto das paredes, viam-se cardos e outras ervas bravias.

Pelo que fica dito, é claro que a largura da travessa devia ser muito irregular, sendo defronte da porta de entrada para o palácio, que ela era maior, e daí caía o solo em declive para o lado do Alboi, até ficar ao nível da rua. Parece ter ficado esta / 196 / travessa para serventia do palácio, pois a alguns velhos ouvi dizer que os Tavares costumavam fazer entrar a carruagem por esta porta e seguindo pelo corredor que atravessando sobre um arco a rua dos Tavares, ia entrar no salão e que aí montavam e desmontavam, o que era possível, uma vez que o salão de espera tivesse a devida segurança de travejamento e soalho.

Do lado da Costeira, unido à sacristia, corria um muro até defronte da casa onde hoje está o hospital, e daí, deixando uma abertura com três ou, quatro degraus de pedra, pela qual se fazia todo o serviço da igreja, saindo por aí as procissões, o Sagrado Viático, etc., continuava o muro para o poente, deixando uma rua estreita entre ele e a casa da Câmara.

Defronte das prisões havia no adro uma pequena capela onde nos dias de obrigação se dizia missa aos presos.

Não sei donde saía o ordenado ao capelão; se era legado ou das rendas da Comenda, do cabeção das sisas ou enfim donde quer que fosse.

Então, o muro fazendo ângulo recto, seguia para o norte, até pouco adiante da esquina da frente da igreja, havendo aí umas escadas de pedra, largas e de não poucos degraus, por onde se descia para a rua que segue para o Alboi, mesmo no ponto onde findava a travessa ou serventia de que já falei. Estas escadas, porém, não davam serventia para a igreja senão às pessoas que, morando no Alboi ou ruas da Alfândega ou dos Tavares, quisessem evitar a volta que haviam de dar para entrarem pelo lado do hospital.

Os muros para o adro tinham apenas a altura de parapeitos; para fora, porém, mais altos e tanto mais quanto mais as ruas laterais iam descendo para o norte.

O palácio dos Tavares era uma reunião de edifícios de diversas épocas, uns fazendo ainda parte da muralha, e outros construídos sobre a ruína dela; prolongava-se desde a casa da Alfândega, com a qual confinava, até defronte da casa das Alminhas, deixando aí uma rua, em seguimento da ponte e da mesma largura desta, e virando para a Corredoura, como ainda hoje para ela se segue do Largo; de largura não tinha mais que a da antiga muralha e para ele se entrava pela porta que ficava na travessa de que já falei, e pela qual hoje se entra para a Conservatória. Claro está que não havia aí as obras que modernamente se fizeram para acomodação das repartições públicas, pois aquele corredor seguia sempre no mesmo nível e atravessando sobre um arco a rua dos Tavares, findava na porta de entrada para o salão de espera; esta porta não abria ao meio do salão, mas quase junto da parede do nascente, com uma janela para a rua dos Tavares, e duas para o lado do norte.

Mesmo no ponto onde findava o corredor da entrada, havia uma porta pela qual se descia por uma escada de pedra até à rua da Costeira, vindo sempre encostada à parede do edifício e / 197 / terminando junto da porta da cidade que dava para a Costeira. Servia esta escada, a quem, querendo ir ao Paço, pretendia evitar a volta pelo adro para entrar pela porta principal.

Do salão da entrada, onde o porteiro recebia os recados, requerimentos e mais papeis que tinham de subir à presença do bispo ou do vigário geral, que também vivia no Paço, seguia, para o lado do poente, a parte do edifício construída sobre as ruínas da antiga casa pelo segundo bispo. Consta que essa casa velha, sobre cujas ruínas foi edificada a nova, comunicava com um arco com a casa que segue ao lado da viela estreita de que já falei, e que nessa casa era a cozinha do paço dos Tavares; no tempo dos bispos, porém, servia ela para habitação dos criados da sege, tendo na loja as cavalariças.

Para este lado do poente é que ficava toda a habitação do bispo; havia salas, quartos, e a cozinha; escada para a rua dos Tavares. A sala para as recepções de mais cerimónia era logo em seguida ao salão de entrada, ao lado do norte, seguindo-se um corredor para as diversas casas daquele andar e uma escada para o superior, onde havia o quarto do bispo, e além de outros aposentos, uma sala para as recepções ordinárias, havendo junto dela uma pequena varanda com muito boas vistas para a ria, barra e areais das costas. Ao lado do nascente do salão havia ainda casas até à abertura das portas da cidade. A porta principal da cidade era na parede do edifício pelo lado do Norte, ficando em frente da entrada da ponte; a esta porta seguia-se um vão de toda a largura da muralha, e no fim dele uma outra porta, ou antes, um arco, deixado talvez para segunda porta, arco que ficava ao fundo da Costeira e em frente desta rua. Entre ele, porém, e a porta, havia um vão descoberto para onde deitava uma janela das casas ou aposentos que ficavam ao nascente do salão a que já me referi.

Sobre o arco que fazia a porta da cidade, bem como sobre o outro que deitava para a Costeira, havia passagens cobertas para o jardim; encostadas à parede do edifício situado ao nascente do arco para a Costeira, havia uma escada de pedra, correspondendo à outra que vinha do fim do corredor de entrada a que já nos referimos, menor, porém, do que esta e que só servia para serviço do jardineiro e do criado que levava a água para regar as plantas.

O jardim era colocado sobre a abóbada de um casarão que seguia desde o vão das portas da cidade até defronte da Casa das Alminhas, havendo aí uma pequena rua em seguida da ponte e da largura desta pouco mais ou menos, a qual voltando a nascente, à esquina da dita casa, seguia para a Corredoura como ainda hoje se vê. Entre este casarão e as casas que existiam no local onde se acha a de José Pereira Júnior, com frente para a Costeira, havia um arco, e sobre ele uma varanda com uma parreira, se bem me recordo, e que não sei se  / 198 / pertencia ao jardim se à casa da Costeira, parecendo-me, porém, que era pertença desta. Por baixo deste arco, seguia também caminho para a Costeira, de modo que o casarão sobre o qual estava o jardim era cercado por todos os lados por esta passagem da Costeira para a Corredoura, pela linha que vinha da ponte, pela que ficava ao norte, entre ele e a cortina e o Canal, e enfim, pela abertura das portas da cidade. Chamava-se àquele arco o arco do ferrador, porque debaixo dele existia o cepo sobre o qual trabalhava o único ferrador que então existia na cidade, e ali mesmo eram ferradas e sangradas as cavalgaduras ali trazidas para esse fim.

No casarão com porta para a ria, era o açougue principal da cidade, a que chamavam o açougue do Bispo, para diferença do outro que havia na rua de Santa Catarina, também alcunhada por este motivo, em Rua do Açougue.

No vão entre as portas da cidade e a outra porta ou arco do lado da Costeira, havia um casebre de cada lado, muito estreitos e sem comunicação com a parte superior do edifício, em um dos quais, da parte do nascente, vendia o então bem conhecido Ventura, azeite, toucinho, e manteiga de porco, e no lado oposto cal fina de que vendia muita quantidade para caiação de casas.

Sobre o jardim, no ângulo nordeste, havia uma estátua de pedra, tosca, representando um homem lutando com uma serpente; acha-se hoje no quintal do Sr. Prior da Vera Cruz. Dizia-se então que fora ali mandada colocar por um dos senhores antigos do palácio em memória de um criado, única pessoa que se atreveu a ir matar uma grande cobra existente no Ilhote, e que fazia o terror de toda a população, criado que uns diziam ter sido morto por ela, ou que, segundo outros, conseguiu matá-la, sendo mais, provável esta segunda versão em vista do monumento que lhe foi consagrado.

Sobre as portas da cidade, no passadiço para o jardim, havia três janelas de peitoril que deitavam para a ponte, e à entrada do mesmo jardim uma pequenina capela, onde o bispo D. Manuel Pacheco de Resende ia todas as noites fazer oração; o altar e todas as paredes interiores eram de pedra calcária, com figuras religiosas em relevo, e parece que estas pedras se acham ainda nas sacristias da Sé Nova.   

Como se vê, a rua da Alfândega, começando então logo à esquina da ponte, segue em declive, mas então esta parte da rua era muito estreita, mal cabendo por ela duas pessoas a par; isto porém, só até ao ponto em que findava o declive da rua, sendo a causa desta estreiteza uns casarões encostados ao edifício do paço, de que só conheci as paredes, além de uma pequenina casa com frente para a rua que vinha a seguir da Costeira pelas portas da cidade para a ponte.

Nesta pequena casa, ou antes, loja, um homem das bandas de Guimarães que para aqui tinha vindo como caixeiro, vendia / 199 / linho que, vindo-lhe do Porto por junto, ele fazia assedar e reduzir a estrigas para a respectiva fiação.

Tudo o mais deste acrescentamento eram ruínas que pouco a pouco foram desaparecendo, alargando-se sucessivamente a rua ate ficar como agora se acha. Ao fim deste acrescentamento havia uma passagem da rua da Alfândega para a dos Tavares, já fazendo parte da edificação moderna feita pelo segundo bispo, a que se chamava o arco da Alfândega, ficando em frente dela uma lingueta para embarque e desembarque, que hoje se acha mais abaixo defronte da Alfândega, assim como também foi mudada mais para poente uma outra que então existia na Praça do Pão, ficando fronteira à outra na rua da Alfândega.

Por morte do último bispo de Aveiro, D. Manuel Pacheco de Resende, ficou o Paço desabitado, até que em 1847 o Governador Civil que então era o visconde da Granja, transferiu para ali o Governo Civil, permanecendo aí até que a 20 de Julho de 1864 foi incendiado por descuido, ficando assim até que foi reconstruído na parte que hoje forma a casa do Sr. Manuel Antero Baptista Machado.

O edifício do Governo Civil, sem o haver privativo desde a sua fundação em todos os distritos, ocupou primeiramente a casa da Rua Direita, pertencente hoje aos herdeiros do general Rebocho, edifício que então era de um sujeito da Beira, por apelido Moura, que foi quem o edificou, adquirido pelo dito General; passou o Governo Civil para a casa do Dr. Monteiro, ultimamente demolida para alargamento do Terreiro; depois passou para as casas de José Maria Branco de Melo, na rua José Estêvão, e hoje dos herdeiros do Visconde de Valdemouro. Dessa casa passou para o Alboi nas casas que depois foram adquiridas pelo Sr. António Taveira e que hoje são da sua viúva e filhos, e finalmente, daí para o Paço como já se disse. Em virtude do incêndio, passou para o Liceu onde se demorou até 1907. Quando em 1864 teve lugar o incêndio, já não existia a parte do Paço desde as portas da cidade até ao seu extremo nascente, o que tudo tinha sido demolido, sendo empregados os materiais na construção do Liceu.

Este foi primitivamente colocado no Convento de Santo António, passando para a sua casa actual entre 1860 e 1864.

--o-O-o--

A igreja de S. Miguel era a Matriz da cidade; a sua freguesia compunha-se da parte dela que fora vila, de muros a dentro, e do Alboi. Não sei se havia algum legado para pagar a missa dos presos, nem o destino que teve, se é que o havia como é de crer, pois que certamente a não diziam de graça.

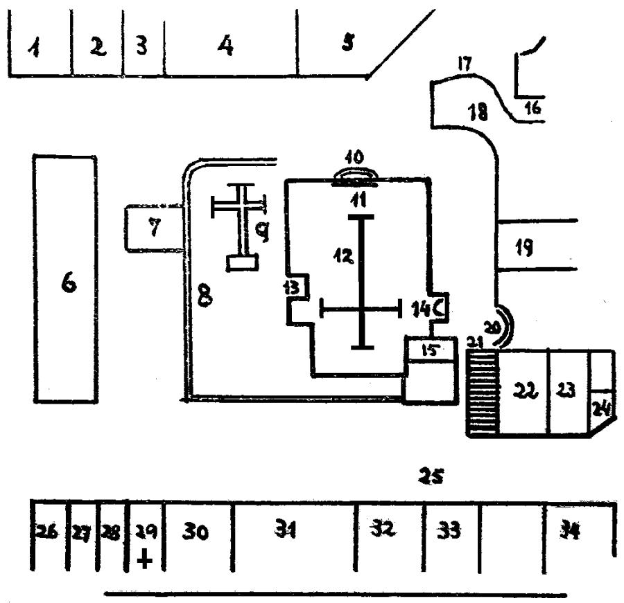
Clicar para ampliar.

AVEIRO − O antigo Largo Municipal (hoje Praça da República) reconstituído pela indicação de pessoas antigas.

Cópia de uma gravura da «Revista Ilustrada».

1, Casa do Veríssimo. 2, Casa de João Maria Regala. 3, Quintal. 4, Hospital de S. Brás. 5, Pátio da Casa dos Marqueses de Arronches. 6, Edifício dos Paços do Concelho e cadeia. 7, Capela de Santo António para os presos ouvirem missa. 8, Paredão de perto de dois metros de altura. 9, Adro e Cruzeiro. 10, Porta principal da igreja de S. Miguel. 11, Igreja de S. Miguel. 12, Esta igreja era interiormente do tipo da actual Matriz de Esgueira. 13, Porta travessa. 14, Porta lateral. 15, Torre de agulha muito elevada com um galo de bronze no topo, e na parede roída uma figueira brava. 16, Viela. 17, Descida para o bairro de Alboi. 18, Casa do Leão. 19, Casa pequena. 20, Entrada do Paço do Bispo. 21, Escadas para a Costeira. 22, Casa do Luís Carniceiro. 23, Casa do Roque da Costeira. 24, Casa de D. Maria Magalhães. 25, Rua da Costeira. 26, 27, 28, Três casas de aluguer pertencentes à Santa Casa da Misericórdia e onde esteve o Hospital. 29, Igreja da Misericórdia. 30, Casa do despacho. 31, Casa de Bento Charriça que depois foi de José Resende. 32, Casa de Manuel Luís. 33, Casa que depois foi dos herdeiros de António José Lopes. 34, Casa da Cerca Velha. (Referências extraídas da "Revista Ilustrada")

Tinha esta igreja capelas em todo o seu comprimento, com retábulos antigos e velhos sem merecimento, exceptuando dois / 201 /  altares modernos, feitos poucos anos antes da demolição, para os dois lados do arco cruzeiro, os quais não condiziam com os restantes, e lá foram para S. Domingos, onde estiveram ao lado do camarim, até que o velho retábulo assim composto sem homogeneidade, foi substituído pelo actual.

Num destes dois altares era venerada na igreja uma imagem de Nossa Senhora, da invocação da Graça; transferida para a igreja de S. Domingos, foi crismada em Nossa Senhora da Glória e ficou sendo o orago da freguesia. Esta mudança de invocação far-se-ia por ser nome próprio da rainha Senhora Dona Maria Segunda − Maria da Glória? Não sei. Ela algum motivo teve, qual não sei, sendo certo que ao tempo o partido da Rainha e da Carta estavam então em toda a sua pujança.

Ora as capelas laterais eram mais ou menos fundas, sem simetria alguma, apresentando assim pela parte exterior saliências angulosas, o que, com o denegrido das paredes, todas de pedra igual à da antiga muralha e sem revestimento, davam ao edifício um aspecto mais do que desagradável. Além destas capelas, uma outra havia muito mais saliente para o adro; era a de Santa Catarina, pertencente ao morgado Balacó, a qual comunicava com a igreja por uma porta que somente se abria uma vez por ano, para celebração da missa a que o administrador do vínculo então era obrigado por determinação do instituidor.

Este morgado foi extinto e extinta se acha a família Balacó, tendo os últimos membros dela vendido os bens e foros que lhe restavam. Entre outros, tinha os de todas as casas da rua de Santa Catarina, e em algumas delas se vê ainda nos prédios exteriores a roda de navalhas, para prova de que eram foreiras a este morgado.

Era esta igreja a sede da comenda de S. Miguel de Aveiro, da Ordem de Avis, cujo último donatário foi frei João da Costa de Cabedo. O pároco era vigário, mas geralmente chamado Prior, para o distinguirem talvez dos vigários das três restantes freguesias da cidade, que eram como que seus sufragâneos. Apresentava-o o Rei pela Mesa da Consciência e Ordens.

No último ano rendeu esta Comenda, calculado o rendimento pelo preço dos géneros, 1.927$473 réis, assim distribuído: a terça parte, 642$493 réis, ao comendador; duas nonas partes, 428$325 réis, ao bispo da diocese de Aveiro; uma nona parte, 2I4$165 réis, à Patriarcal; ao pároco 4$000 réis, 128 alqueires de trigo, outro tanto de cevada, quatro pipas de vinho, e o terço das miúças, afora dos alhos e cebolas; a cada um dos quatro beneficiados 48$000 réis; ao coadjutor 164$525 réis; aos vigários das outras três freguesias da cidade 40$000 réis a cada um; o restante, 44$085 réis, paga uma pensão ao Colégio dos Militares de Coimbra, era distribuído para guisamentos pela Sé e freguesias da cidade.      

/ 202 /   Não só dos frutos da terra se pagava o dízimo para a Comenda, mas também do sal e do pescado vendido na praça de Aveiro. Tinha além disto a Comenda alguns foros, entre os quais um de 1$067 réis, que lhe era pago por José Maria Branco de Melo.

Quanto aos beneficiados, é certo que na igreja de S. Miguel não havia Colegiada desde muitos anos. Ora, como na Misericórdia havia um coro de quatro capelães e dois meninos de coro, instituído por D. Isabel da Luz Figueiredo, mas nos anos que alcancei, funcionavam nela oito ou nove clérigos, presumo que pela erecção do bispado e da erecção da igreja da Misericórdia em Sé, o Bispo, para ter o clero mais numeroso e haver na mesma Sé um certo número de clérigos para os respectivos serviços, fazia reunir aos capelães da Misericórdia os beneficiados de S. Miguel, suprimindo assim e por esta forma, a falta de cabido que nesta Sé não havia.

Não sei se isto assim seria; é, porém, certo que pela extinção da Comenda os beneficiados deixaram de ter côngrua e que o coro da Misericórdia foi suprimido por deliberação da Mesa, em 2 de Abril de 1838, por diversos fundamentos, entre os quais, os de se haverem suprimido alguns capelães, e de se acharem os restantes, uns impossibilitados e não sendo os outros suficientes para o cumprimento das suas respectivas obrigações.

Houve muito quem censurasse, assim como houve quem aplaudisse a demolição desta igreja, chegando a dizer-se e até a escrever-se em periódicos e folhetos que o facto procedera por ter ela por orago S. Miguel, − o nome do príncipe proscrito. Não o acredito. É, porém, certo que, transferida a igreja paroquial para S. Domingos, e não podendo a freguesia custear as despesas de conservação e do culto em duas igrejas, se ela ficasse abandonada em breve cairia em ruínas como aconteceu à igreja do Espírito Santo, cuja demolição principiou em 29 de Março de 1858. Tanto uma como outra nada tinham que as recomendasse.

Continua na página 259 ►►►

JOSÉ FERREIRA DA CUNHA E SOUSA

______________________________________________

(5)Este largo (Ilhote) encontra-se presentemente aterrado, e nele se está construindo o edifício do Mercado Municipal, cujas obras começaram no dia 29 de Abril de 1940. FERREIRA NEVES.

(6)Desde 1918 existe outro cemitério. FERRElRA NEVES.

(7)Este palácio pertence hoje ao Liceu Nacional de Aveiro. FERREIRA NEVES.

(8) Esse sistema de entrada para a igreja por um patamar servido por duas escadas foi eliminado, tendo-se regressado à primeira forma de entrada, há alguns anos. FERREIRA NEVES

(JFS1) − Igreja do Espírito Santo. − O cruzeiro foi demolido em 13 de Agosto de 1841. − A Junta de Paróquia mandou arrear a telha no dia 6 de Novembro de 1843. [Nota de JOSÉ FERREIRA DE SOUSA]

(JFS2) − Igreja de S. Domingos. A torre foi construída no sítio onde existia a capela de N. Senhora da Escadinha, da qual nada se aproveitou. A porta existente foi construída de novo para dar entrada para a torre e para o pátio interior. Esta torre fê-la o mestre de obras Bernardo António da Graça, de Aveiro, e a demolida estava sendo construída pelo mestre de obras Fernando Manuel Homem Cristo. Na torre foram colocados: o sino balão e o sino da figueira, que eram de S. Miguel, e os dois sinos do Espírito Santo. Pouco depois, foi trocado um dos sinos do Espírito Santo pelo sino dos Frades, que existia num campanário que ainda se conserva, − por se reconhecer que fazia melhor conjunto com os outros. Este sino, tirado da torre, foi mais tarde vendido para a Sé, donde em 1911 seguiu para as Carmelitas, onde rachou e ali se conserva.
A construção da torre principiou em 11 de Outubro de 1860. A obra parou nos fins de Dezembro do mesmo ano, para recomeçar no dia 4 de Fevereiro de 1861. Ficou concluída em 9 de Agosto de 1862. Os sinos tocaram pela primeira vez numa quarta-feira, 28 de Maio de 1862, véspera da Ascensão.
[Nota de JOSÉ FERREIRA DE SOUSA]

(JFS3) − Cemitério. − O primeiro enterramento no cemitério fez-se no dia 12 de Dezembro de 1835, e foi sepultado Francisco de Almeida, carpinteiro, da rua do Espírito Santo. Esteve por sepultar durante três dias, porque o povo não queria que ele fosse enterrado nos canoilos (assim chamava o povo àquele terreno, por ter ainda os canoilos do milho, ultimamente ali semeado). Tinham-lhe aberto sepultura na igreja do Espírito Santo e outra na igreja da Ordem Terceira. [Nota de JOSÉ FERREIRA DE SOUSA](JFS4) − A procissão dos Passos saía do Carmo e recolhia em S. Miguel. A capela do Terreiro era um Passo privativo. [Nota de JOSÉ FERREIRA DE SOUSA]

(JFS4) − A procissão dos Passos saía do Carmo e recolhia em S. Miguel. A capela do Terreiro era um Passo privativo. [Nota de JOSÉ FERREIRA DE SOUSA]

(JFS5) − A antiga entrada para a igreja da Misericórdia era para uma escada em frente da porta, e saliente. Como avançava muito para a rua, foi substituída, no tempo do provedor António de Sá Barreto de Noronha, por um patamar e duas escadas laterais, que há pouco existiam. A Rua da Costeira foi alargada à custa das casas do Nascente e Poente. A nota está errada, pois não foi o sistema primitivo o agora adoptado. [Nota de JOSÉ FERREIRA DE SOUSA]

(JFS6) − O teatro actual foi construído sobre as paredes, já a meia altura, do teatro que em tempos fora principiado, no sítio da tal casa de que fala o Arquivo. [Nota de JOSÉ FERREIRA DE SOUSA]

 

  Página anterior Índice Página seguinte