|
◄◄◄
−
Continuação do n.º 22, pág. 100
/ 177 /
[VoI.VI - Nº 23 -1940]
II
LITORAL E PESCA
É curioso saber-se qual a razão por que a costa de S.
Jacinto pertencia a Ovar: é tradição constante que a barra de Aveiro
existiu primitivamente, ainda ao norte da Torreira, mas, com tendência
de abrir sempre para o sul, foi estacionar perto da costa de Mira, sendo
essa a causa das febres paludosas que a povoação desta
cidade sofreu por muito tempo, e a saída de muitas pessoas e famílias
inteiras para fora dela, porquanto, ficando longe a entrada da água do
mar, as marés não chegavam a toda a ria, que pouco a pouco se foi
convertendo em ilhotas e produzindo caniços e outros vegetais, quero
dizer, outras plantas próprias das águas, mistas, e tanto cresciam esses
vegetais, que não deixavam o vento impelir os barcos, sendo por isso que
começaram a usar-se as velas de forma especial na nossa ria, adaptadas a
receber o vento no alto, onde não chegavam a embaraçá-las os caniçais
das margens dos esteiros.
Ora a Câmara de Ovar foi-se apoderando sempre do areal
que o afastamento da barra para o sul deixava a norte dela, e tanto
cuidado tinha em conservar esta posse até ao marco de Mira, que, a
despeito da abertura da barra actual, se manteve também na posse dos
areais que ficam ao sul da mesma barra, quero dizer, da nova barra até
ao marco de Mira. E assim, não só das costas da Torreira e S. Jacinto,
mas também da Costa Nova do Prado, em que os pescadores de Ílhavo que
até essa ocasião trabalhavam na costa de S. Jacinto, colocaram os seus
barcos, redes e mais aprestes, e edificaram palheiros, continuando a
trabalhar, tendo assim início a Costa Nova do Prado, de que mais tarde
se falará, e isto pela dificuldade de se transportarem todos os dias
para S. Jacinto através das correntes da barra.
/ 178 / Os concelhos fronteiros ao areal pouco se embaraçavam com
esta posse, porque as costas não eram povoações fixas, mas só para assim
dizer uns abarracamentos para guardas de materiais das campanhas durante
o inverno, em que elas não trabalhavam nas costas, e também não julgavam
de cobiçar a posse destes areais, por serem considerados geralmente como
de todo improdutivos; a Câmara de Ovar algum proveito, porém, deles
tirou, como eram taxas das licenças, os direitos de vinho, que em
quantidade se vendia nas costas, durante a temporada da pesca, e
finalmente, porque as justiças informadas pelos compradores de sardinha,
que naquele tempo eram todos de Ovar, de qualquer rixa ou desordem entre
os pescadores, que segundo a antiga jurisprudência, fosse caso de
devassa, instauravam processo e obrigavam os pobres delinquentes a irem
responder a Ovar, tendo de deliberar-se aí, embora já estivessem livres
nos juízes de domicílio das querelas, por ventura intentadas aí por
parte dos queixosos.
A pesca do mar estava na maior decadência desde que as
campanhas de Ílhavo, como já dito fica, abandonaram em 1807 a costa de
S. Jacinto. Aqui ficaram apenas duas campanhas de pescadores, a Enchada
e a Canária, pobres, empenhadas e mal administradas. Mas assim se foram
arrastando, até que mais tarde Manuel Firmino de Almeida Maia,
comprando-lhes os aparelhos e acrescentando-as, fundou aí uma campanha,
seguindo-se outras a seu exemplo, e remoçando-se assim a costa de S.
Jacinto, que estava quase reduzida a um deserto.
Chegou a haver à beira do rio um único palheiro; além de
quatro ou seis à beira-mar, pertencentes ou às ditas duas companhas, ou
a pessoas da cidade, ocupados na época balnear por alguns, mui poucos,
frades ou negociantes velhos e reumáticos que ali iam procurar alívio em
seus achaques.
No palheiro à beira do rio, havia uma taberna,
administrada pelo velho e mui conhecido Siopra, natural de Águeda e avô
de José Maria Veloso, que foi algum tempo amanuense do Governo
Civil e poeta.
ESPÍRITO SANTO
Ao tratarmos dos limites da cidade no primeiro quartel do
século XIX e ainda até ao meado do seguinte, mencionamos algumas
alterações e melhoramentos efectuados principalmente no segundo quartel
do dito século.
Resta, porém, apontar alguns efectuados no interior da
cidade.
No largo do Espírito Santo, entre as aberturas das ruas
de S. Sebastião e S. Martinho, no local onde hoje está uma casa
/ 179 /
construída pelo Padre Manuel Mário da Encarnação Pinto, existia a igreja
paroquial da freguesia do Espírito Santo, composta do bairro de Cimo de
Vila, como então se chamava e ainda hoje se chama à parte da cidade
construída fora das muralhas, e ao sul destas de mais algumas ruas da
cidade e dos lugares de Vilar e S. Bernardo; ora, como a parte que esta
freguesia tinha na cidade era o mais pobre e os habitantes daqueles dois
lugares apenas viessem à igreja para cumprir o preceito quaresmal, tendo
capelães que lhes diziam missa nos dias santificados nas respectivas
capelas, cujo culto e mais despesas de conservação e ornatos eram feitos
à custa dos mesmos habitantes, seguia-se daí que esta igreja fosse das
quatro paróquias a mais pobre e a mais mal tratada, carecendo de alfaias
e ornamentos.
E quando por ocasião da demolição da igreja de S. Miguel,
em 1835, foi erecta em paroquial a do convento de S. Domingos, reunidas
em uma as duas freguesias, ao sul do canal da cidade, assim como também
o foram as duas freguesias do norte, foi abandonada a igreja do Espírito Santo(JFS1), sendo fechada ao culto, e arruinando-se pouco a pouco, até que em
1858 foi demolida, e assim como o cruzeiro que no largo havia em frente
da porta principal, e mais tarde, em 18... foi levantado um chafariz,
que agora se acha no mesmo largo.
TORRE E IGREJA DA SENHORA DA GLÓRIA
E por que o convento de S. Domingos apenas tinha um sino
em um campanário no interior do edifício, tratou-se de edificar torre
sobre uma capela à direita de quem entra; reconheceu-se depois que as
paredes não comportariam o peso, pelo que, demolido o trabalho já feito
e já adiantado, foi a torre construída sobre a capela da Senhora da
Escadinha que estava sobre o portão que ainda se conserva e que era uma
das serventias do convento e dá hoje serventia para a sacristia. Para
esta capela subia-se por uma escada de pedra, junto à parede da igreja e
que partia junto da porta principal dela, e terminava em uma varanda
para a qual dava a porta da capela.
Foi a torre construída pelo mestre de obras Bernardo
António da Graça, sendo nela colocados os sinos que foram da igreja de
S. Miguel e o do convento, ao qual a crença popular atribuía a virtude
de dissipar ou afugentar qualquer trovoada próxima ou iminente, sendo
nessa ocasião tangido.(JFS2)
Teve lugar esta construção em 1862, e os sinos tocados
pela primeira vez em 28 de Maio deste mesmo ano.
/ 180 /
CEMITÉRIO
Também é obra posterior a 1834 a construção do cemitério
público, em parte da cerca do convento de S. Domingos. Não se olhou para
a construção dele, senão ao lado económico, pois que o terreno foi
cedido para esse fim.(JFS3)
Foi pena, pois que era este sítio um dos melhores para
construções, com lindas vistas e em uma elevação que deveria tornar
apreciados os prédios que se construíssem.
Até 1838, em que o cemitério foi construído, faziam-se os
enterramentos nas igrejas, ou nas dos conventos de frades, se assim o
tinham desejado e recomendado.
Os frades eram sepultados nos seus claustros e vendiam as
sepulturas das igrejas aos seculares que sem prejuízo dos direitos
paroquiais, ali queriam ser sepultados.
E os frades de Santo António vendiam hábitos usados para
mortalhas, pois que naquele tempo nenhum cadáver deixava de ser
amortalhado em hábito de frade ou de freira, segundo o seu sexo.
ENCANAMENTO DE ÁGUAS DA FREGUESIA DA GLÓRIA.
CASA DO
VISCONDE DE ALMEIDINHA. GOVERNO CIVIL.
Outros melhoramentos de menos importância foram
efectuados na cidade, além dos que respeitam às portas da cidade e sua
demolição, bem como à demolição dos Paços do Bispo, transformação do
Largo hoje Municipal, edifícios que o defrontam, do que tudo se tratará
em capítulo especial, notando por agora somente o capeamento do cano de
águas que vem do Espírito Santo, na parte em que corria pela rua do
Loureiro, junto ao muro da cerca das Carmelitas, recebendo aí os
despejos do mesmo convento, encanamento este que seguindo subterrâneo
até ao quintal da casa, hoje do Sr. Prior da Vera Cruz, passava a
descoberto através das ruas do Alboi em direcção à ria.
São obra dos nossos dias, e já do século XX, o
alargamento do largo chamado do Terreiro, em frente da casa da família
Sousa da Silveira, hoje edifício do Governo Civil, assim como a
conclusão deste edifício, para cuja construção o Dr. José Maria Barbosa
de Magalhães alcançou do Governo um valioso donativo, adquirindo a
Câmara as ruínas da antiga casa, que foi incendiada em 1871, e que levou
bastante tempo a construir pela falta da remessa dos meios necessários.
/ 181 /
Note-se que a casa incendiada não era a primitiva que os
morgados de Alqueidão tiveram nesta cidade, mas sim a outra que, posto
mais velha, ainda existe ao lado do norte do Terreiro, da qual se
passava para a outra por um arco que ficava à entrada para a rua da Sé
ou das Beatas, o qual foi demolido por ocasião do incêndio, e suprimida
uma pequena capela ou oratório que debaixo dele ficava ao lado poente.
Nesta capela costumava armar-se um dos passos do Senhor,
por ocasião da procissão do Senhor dos Passos(JFS4), que saía da Glória para o
Carmo.
RECOLHIMENTO DAS BEATAS
Esta pequena rua tinha o nome de rua das Beatas, porque
assim eram chamadas umas recolhidas que parece não tinham todos os votos
monásticos e que viviam pobremente em um convento mal acabado, unido à
igreja que existe nesta rua, e depois rua da Sé.
Em 183..., existindo só quatro recolhidas, já muito
avançadas em idade, faltando-lhes os meios para a sua sustentação e
culto da igreja respectiva, foi o convento suprimido, e elas recolhidas
nas casas de seus parentes, com uma pensão que o governo lhes assinou
pelos ténues rendimentos dos bens e capitais que foram incorporados na
fazenda pública.
A isto seguiu-se obter do Governo o último bispo D.
Manuel Pacheco de Resende a igreja, em que colocou a sua Sé, transferida
da Misericórdia, e bem assim o edifício do convento, em que o mesmo
bispo desejava estabelecer o seu seminário, não o conseguindo, porém,
por falecer em ... de …….de 1836.
AINDA O TERREIRO. RUA DO CANEIRO. ASILOS.
Por ocasião da conclusão do edifício do Governo Civil,
foi aberta a travessa que comunica o Terreiro com a rua do Jardim.
Também é dos nossos dias o alinhamento e alargamento da
rua do Caneiro, a abertura da rua que vai do Espírito Santo ao Jardim,
onde se acha o edifício dos Asilos da Infância Desvalida. Isto quanto à
freguesia de Nossa Senhora da Glória.
RUA DA PALMEIRA, LARGO DA APRESENTAÇÃO, RUA DE JOSÉ
ESTÊVÃO.
OUTROS MELHORAMENTOS. CAIXA ECONÓMICA
Pelo que toca à freguesia da Vera Cruz, além dos
melhoramentos de que já se falou, e da rua da Palmeira que vai do Largo
da Apresentação para a rua de S. Roque,
/ 182 /
e da estrada que vai da Praça do Peixe pela Beira-Mar, até ao passo de
nível do caminho de ferro, na estrada de Esgueira, tudo obra dos nossos
dias, deve mencionar-se a rua de José Estêvão, desde a Caixa Económica
até à Ponte, que era nos tempos antigos uma rua estreita e escura, pouco
ou nada limpa, chamada vulgarmente rua dos Burros, sendo formada de um
dos lados pelas traseiras das casas da rua dos Mercadores, e pelo outro
de velhas casas onde os negociantes daquele tempo recolhiam as
cavalgaduras que precisavam ter por causa dos mercados mensais que
costumavam frequentar. Portanto, ao fim da rua de Vila Nova, segue para
o sul a rua de José Estêvão (outrora Rua Larga), a qual findava no sítio
em que se acha o edifício da Caixa Económica. Aí alargava, por efeito de
um pardieiro de antigas casas, sobre o qual se acha levantado o mesmo
edifício, seguindo daí até à ponte a tal rua dos Burros, cujo nome
oficial não sei.
Convém saber que enquanto não tivemos estradas e caminhos
de ferro, todos os que tinham necessidade de jornadear, tinham, podendo,
uma cavalgadura para seu uso. Assim, tais eram os negociantes da praça e
rua dos Mercadores, que, como se disse, costumavam, como alguns costumam
ainda, frequentar os próximos mercados ou feiras mensais, e era nesta
rua que todos tinham cavalariças para as suas cavalgaduras nas casas do
lado do nascente. E por isso que a rua tinha o nome acima dito.
A abertura desta rua, à custa das sobreditas casas, em
lugar das quais se vê hoje o mais regular quarteirão da cidade, foi uma
das melhores obras municipais ultimamente realizadas. A rua, assim
alargada e igualmente aformoseada, ficou fazendo parte da rua José
Estêvão. E pena foi que na construção das novas casas, interesses
particulares avançassem a linha dos prédios, a norte, além do
alinhamento, prejudicando-se assim a beleza desta rua, assim como que,
por ocasião da edificação da casa da Caixa Económica, a Direcção
respectiva não comprasse também a casa contígua pelo lado do Côjo,
prolongando o edifício com frente para este Largo, (então ainda era um
largo), e finalmente, que a Câmara se não entendesse com a mesma
Direcção para o efeito de se prolongar a travessa Mendes Leite até ao
Côjo, em recta e com a mesma largura entre o edifício da Caixa e a casa
que lhe defronta pelo Norte. Assim mesmo, o edifício da Caixa, que foi
edificado sobre um pardieiro de que ainda conheci os restos das paredes,
e que havia muitos anos se achava desaproveitado, contribuiu para o
melhoramento material da cidade, assim como a Caixa eficazmente
contribuiu para ele na parte moral e económica.
Foi a Caixa fundada pelo governador civil Nicolau
Anastácio de Bettencourt, no ano de 1858; nisto foi auxiliado por muitas
das principais pessoas da cidade, embora muitas delas só por
condescendência, e sem fé na duração do estabelecimento.
/ 183 / Entre estas se distinguiu Sebastião de Carvalho e Lima,
facultando os seus cabedais para os primeiros empréstimos e continuando
como presidente de sucessivas Direcções a manter os créditos da Caixa e
a promover a confiança pública nela e a sua boa e regular administração.
Quem estas linhas primitivamente escreveu e que foram
para aqui trasladadas por seu filho, foi a pedido do Governador Civil o
fiador do primeiro empréstimo que a Caixa fez, perdendo quase todo o
capital afiançado que teve de satisfazer à Caixa pela falência do
devedor.
Nesta rua nasceu José Estêvão, na casa onde hoje existe
colocada pela Câmara Municipal uma lápide comemorativa.
Em frente da igreja da Apresentação havia um adro que
ocupava quase todo aquele pequeno largo, muito mais alto do que elas (as
ruas) e subindo-se para ele por uma escada de pedra; ao fundo do mesmo
largo, à altura da entrada da rua do Sol, pouco distante da escada havia
um cruzeiro. O adro era cercado de muro, sendo a abertura principal em
frente da porta principal da igreja, ficando o seu recinto muito alto e
nivelado, e por consequência sem o declive que agora tem o largo. Outras
duas entradas havia para ele, uma ao direito da rua de Vila Nova (Vera
Cruz ou Manuel Firmino) e, outra, próxima da torre para a Palmeira por
uma escada, porque o adro ainda aí ficava muito superior ao pavimento da
rua entre o seu muro de poente e as casas que por este lado fixam o
largo actual, as quais estão no mesmo antigo alinhamento.
Quando possível, seria de toda a conveniência que se
prolongasse a rua de Vila Nova, através do largo e das casas a poente
dele, até se unir com a rua que finda em frente do adro da capela de S.
Gonçalinho.
PELOURINHO
No Rossio, em frente da rua da Rainha, havia o
pelourinho, que não mostrava ser antigo e que se achava em bom estado de
conservação, tendo sido demolido depois de 1834.
|
 |
|
Aveiro
- Antigo aspecto do Côjo com o aqueduto. (pág. 184) |
CÔJO E MELHORAMENTOS. MERCADO. RUA DE VILA NOVA. ANTIGO
HOSPITAL.
O Côjo, antes de se edificar nele o Mercado Manuel
Firmino, cuja construção durou por todo o ano de 1898 e que foi
inaugurado no 1º de Janeiro de 1899, e além dos edifícios construídos
recentemente no terreno que foi o Ilhote, a casa do Sr. Firmino de
Vilhena, a nascente da Avenida Bento de Moura e as casas
/ 184 / ao
fundo do quintal das senhoras Mesquitas, era um largo irregular, para
onde davam saída os quintais de algumas casas da
[IMAGEM DE AVEIRO –
DESENHO ASSINADO DE 1891] rua de Vila Nova, sem casa alguma de
habitação, além da que está entre as duas travessas, encostada às
traseiras da Caixa Económica, não havendo como agora há a Avenida Bento
de
/ 185 / Moura e a travessa ainda sem nome entre as casas de José
Ferreira da Cunha e Sousa e José António Marques, substituindo a antiga
e estreitíssima viela do Hospital que ali havia e dava passagem da rua
de Vila Nova para o Côjo, sendo para esse fim demolida a casa que foi
nos princípios do século passado do capitão João Dionísio e que corria a
par da mesma viela.
Era só pela viela do Rolão e por esta viela que o Côjo se
comunicava com a rua de Vila Nova, hoje de Manuel Firmino, mas que me
parece nunca deveria perder aquele antigo nome, pelo qual se mostrava
ter sido a primeira que se abriu, quando a população começou a
estender-se para o norte das muralhas da antiga vila.
Sabido é que a vila de Aveiro era cercada de muralhas que
o infante D. Pedro, filho de el-rei D. João I, mandou construir ou
reedificar; compreendia, portanto, a vila somente a parte da cidade ao
sul das pontes, desde as portas da Ribeira, que aí eram, até à rua do
Rato, que ficava já de fora, pois que por esse lado a muralha ocupava o
quarteirão entre ela e a rua de Jesus.
Era isto. Crescendo a população e não cabendo já no
recinto amuralhado, foi na rua da Vera Cruz ou de Manuel Firmino que se
fizeram as primeiras edificações ao norte das pontes, e nem podia deixar
de ser assim, porque o Côjo, a Praça e Rossio eram nesse tempo lodaçais
sem a necessária consistência para firmeza de alicerces e segurança de
prédios, não havendo de mais a mais as cortinas do canal. Ainda hoje em
recentes construções tem sido reconhecido este defeito dos terrenos,
atendendo-o com grades de madeiras e outros trabalhos preventivos.
Com razão, pois, tomou esta rua o nome de Vila Nova,
assim como foi dado o de Cimo de Vila às do Espírito Santo, S.
Sebastião, S. Martinho, etc. O nome, pois, de Vila Nova, é o que esta
rua devia conservar para sempre; também lhe chamavam rua dos Ourives,
porque só nela havia ourivesarias, mas este não era o nome oficial, era
como uma alcunha.
Crismaram-na, depois, há poucos anos, em rua da Vera
Cruz, e ultimamente em rua de Manuel Firmino. Pegará? Será o último?
Nestes últimos tempos tem havido uma febre vertiginosa em mudar os nomes
das ruas, e em dar assim às existentes como às abertas de novo, nomes de
pessoas colocadas em altas posições políticas, algumas das quais nenhum
título possuem pelo qual tenham jus à consideração desta cidade; pessoas
até desconhecidas da grande maioria de seus habitantes, ao passo que
ninguém se tem lembrado de prestar essa homenagem à memória de filhos de
Aveiro, dignos da veneração dos seus conterrâneos.
Podemos procurar, mas não encontraremos rua ou mesmo um
beco com o nome, por exemplo, de João Afonso de Aveiro,
/ 186 /
ou de Antónia Rodrigues. Será porque estes já deram o que tinham a dar,
enquanto dos que ainda vivem alguma coisa se espera, se não para a
cidade, ao menos para quem se lembra de os adular por esta forma?
Ou para assim lhes agradecer serviços e favores puramente
pessoais?
Dizem-me que a algumas ruas recentemente abertas alguns
nomes de filhos antigos e ilustres de Aveiro lhes têm sido dados. Ainda
bem, e valha-nos isso, embora persista em confessar que tal orientação
tem sido pouco seguida.
Nesta rua houve em tempos remotos um hospital de
pescadores; era onde hoje é a casa de José Ferreira da Cunha e Sousa, e
contígua a ele havia a capela da invocação de Nossa Senhora da Graça, se
nisso me não engano, a qual ainda existia, posto que velha e arruinada,
no primeiro quartel do século passado; tendo, porém, caído em ruínas,
foi o terreno aforado a Joana Gamelas, viúva de José Vinagre, que o
reuniu à casa que já possuía junto dele.
Muitas casas desta rua têm sido reedificadas, e algumas
com muito melhor aspecto, tendo as Câmaras perdido essas ocasiões de dar
à rua um melhor alinhamento, do qual tanto carece, assim como de serem
retirados os degraus para a entrada de portais que ainda mais a
estreitam. A estreiteza em alguns pontos desta rua, sendo tal que
dificilmente pode uma carruagem passar por outra que venha em direcção
oposta, defeito este mais sensível em uma rua que é estrada real de
segunda classe, obrigou a Direcção das Obras Públicas a propor ao
Governo a abertura da avenida para o Côjo, para o que, autorizada, se
procedeu a essa obra que foi concluída em 18...
Ao tempo em que isto se escreve, acha-se o Ilhote em
parte aterrado e unido à estrada, construindo-se nele os edifícios que
lá se vêem.
AINDA O ILHOTE, ETC. SEIXAL, CEMITÉRIOS
Tendo nós já falado no Ilhote, alguma coisa ainda há a
dizer. Da esquina do quintal da casa de José Ferreira da Cunha e Sousa
começava quase em recta a linha das paredes dos quintais incluídos ou
demolidos para a abertura da avenida Bento de Moura, continuando essa
linha com o valado que fechava a quinta do Seixal, Mendes Leite. Havia,
pois, o Ilhote, uma espécie de península, entre os dois esteiros, o que
ia até ao fim dos Arcos, que já não existe, desde a construção da
estrada do Americano, e o outro do lado do sul que vai até à malhada da
Fonte Nova.
Como já dissemos, era um terreno inculto, com lagos e
poças onde viviam milhares de rãs e se produziam silvas, bajunças,
/ 187 /
caniços e outros vegetais semelhantes. Era, portanto, o Ilhote
irregular, aqui alto, ali baixo, alagadiço, conservando-se nele lagoas
permanentes, formadas tanto pelas águas fluviais, como pela invasão das
da Ria.
|
 |
|
Aveiro
- Vista do antigo ilhote e aqueduto da fonte da Praça. (pág. 187) |
José Ferreira Pinto Basto, cujo génio empreendedor é bem
conhecido, comprou o Ilhote à Casa Barreto Ferraz e quis fazer nele
moinhos que trabalhassem com a enchente e com a vazante; fez construir
para esse fim a casa que ainda existe, e que, feito outro andar, é onde
hoje se acha estabelecida a Escola Industrial Fernando Caldeira, e
desaterrou uma parte do Ilhote
para formar a caldeira, isto nos anos de 1828 para 1829. Ou por erros de
cálculo, ou porque o edifício abateu, ficou a obra inutilizada e perdida
a despesa, que se dizia ter sido de oitenta mil cruzados ou trinta e
seis contos de reis.
Tentou-se depois aproveitar a caldeira para uma salina
que chegou a ser construída, mas igual resultado deu esta tentativa, por
ser insignificante a produção do sal e este incapaz de entrar no
mercado.
Ficou tudo ao abandono. Foi Mendes Leite quem, tendo
comprado a Ferreiras Pintos o Ilhote, assim como as mais terras que
haviam pertencido aos frades de S. Domingos e que José Ferreira Pinto
Basto havia adquirido depois da supressão dos conventos, fez pouco a
pouco aterrar a caldeira desde a casa dos moinhos até às da viúva de
João Justino Gamelas, aproveitando para isso os entulhos resultantes das
edificações e obras na
/ 188 /
cidade e os lastros dos navios que conseguiu serem ali depositadas.
O canal do norte ainda ficou por alguns anos até defronte
da viela do Rolão, sendo afinal suprimida quando se construiu a estrada
do Americano. Ora o esteiro, o caminho entre ele e a quinta e a arcada
tudo findava onde agora passa a estrada para a Fonte Nova, mas um pouco
a norte, como fica dito que seguiam. Daí para cima, como os terrenos
eram muito mais altos, o cano da água vinha sobre uns muros através das
quintas e seguia sobre o primeiro arco, o qual estava sobre um caminho
que daí seguia para Arnelas, caminho muito baixo, escuro, lamacento
sempre, porque nele rebentavam muitas nascentes de água; de ambos os
lados os terrenos eram muito altos e espessos valados e árvores os
defendiam, juntando as copas e formando como que um túnel, até ao ponto
em que termina ou por aquele lado começa a rua da Seixal. Daí por
diante, o caminho alteava, continuando de um lado o vale da quinta de D.
Margarida Angélica Henriques de Carvalho, e do outro, o muro da cerca do
convento do Carmo, hoje propriedade dos filhos de Sebastião de Carvalho
e Lima. Não havia a estrada que hoje segue de Arnelas para a Estação, e
só a que vai para a Forca, vinda de Sá, por entre o muro da sobredita
cerca e a quinta do capitão José Pereira da Cunha.
Foi, então, que a Câmara Municipal (186_) resolveu prover
radicalmente a este deplorável estado de coisas. Por esta ocasião, houve
o projecto de construir uma estrada do Rossio até à Estação que pudesse
ser servida por um caminho de ferro do sistema americano; fez-se a
estrada, mas não o caminho de ferro, sem embargo do que muita gente lhe
ficou chamando e ainda hoje lhe chama a estrada do Americano. Na casa à
esquina do Largo do Côjo, (há-de ser sempre Largo!) ainda se vêem os
vestígios dos arcos embutidos na parede.
Não havendo casa alguma no vale do Côjo, nem com frente
para ele, mas só algumas portas de quintais das casas das ruas de Vila
Nova, José Estêvão, e Seixal, era este um sítio escuro, principalmente
da viela do Rolão para cima, pois que nesta parte, sempre sujo e de maus
encontros, nenhuma pessoa decente o frequentava.
Eu disse que a Casa do Seixal, hoje da família Mendes
Leite, fora de António Nuno. Era este um dos cavalheiros mais distintos
da cidade. Sendo legitimista, retirou para Coimbra, e aí faleceu, não
deixando descendência. Foram seus herdeiros os senhores Champalimaud,
que venderam a casa e quinta a Mendes Leite. Abandonado assim a Ilhote,
lembrou-se alguém de cultivar a parte alterada desde a casa chamada dos
moinhos até à casa da viúva do João Justino, e de fazer uma piscina no
restante. Assim se fez, mas em poucos anos se viu que não valia a pena,
pois criava pouco peixe, e este de má qualidade.
/ 189 / Quem lucrou com esta obra foi Mendes Leite, porque os
aterros de tal piscina os aproveitou ele para altear a parte baixa da
quinta do Seixal, confinante com a estrada do Americano.
Como dissemos já, esta quinta pertencera a uma senhora
que, chamando para sua companhia um parente por nome António Nuno Cabral
Montez, ficou este herdeiro dela, por morte do irmão.
Ultimamente empreendeu a Junta da Barra a aquisição e
aterro do Ilhote, desde a casa da viúva de João Justino e outros
conjuntos até à estrada que o atravessa, dando comunicação às duas
freguesias da cidade, estrada muito útil para os que das povoações do
sul da cidade se dirigem à Estação do caminho de ferro. Resta uma
pequena parte por aterrar, neste mês e ano de Setembro de 1908, e a
parte já aterrada, posto que não esteja nivelada, tem diversos fins,
tendo nela lugar nos dias 28 de cada mês, um mercado ultimamente criado
pela Câmara Municipal.
Diz-se também que neste largo vai ser edificada a Estação
do caminho de ferro do Vale do Vouga, e bom é que este largo seja
aproveitado sob um carácter permanente para qualquer fim que lhe tire
aquele aspecto desgracioso que ainda hoje tem
(5), contribuindo com a vista do
cemitério para tornar pouco simpática aos viajantes estranhos esta
entrada da cidade. Na verdade, importava e impunha-se a necessidade de
mudar o cemitério para outro ponto ou de levantar o muro que já teve e
que não foi reedificado. E certo que ele tem bastantes capelas,
mas para
as não transferir, deixasse-se apenas este cemitério para os possuidores
delas
(6). Também se impunha a
necessidade de corrigir muitos erros a diversos epitáfios que ali se
encontram.
RUA DA PALMEIRA
A rua que do Largo da Apresentação vai em direitura à de
S. Roque é obra dos nossos dias, assim como a fonte da Vera Cruz, pouco
mais ou menos no sítio onde antigamente havia um cruzeiro, tratando-se
actualmente também de abrir uma rua, no que já se trabalha, que,
partindo do Largo da Vera Cruz, e começando entre as obras da igreja e
as casas do Dr. Francisco António Marques de Moura, vai directamente à
rua de S. Roque.
/ 190 /
~
ANTIGA GUARNIÇÃO MILITAR.
CAPITANIA-MOR DE ORDENANÇAS.
Terminada que foi a guerra peninsular, foi colocado em
Aveiro o Batalhão de Caçadores nº 10, que poucos anos aqui se demorou;
pois que, saindo em virtude dos acontecimentos que se seguiram à
gloriosa revolução de 1820, só recolheu em 3 de Maio de 1828, retirando
logo em 16 do dito mês para a cidade do Porto, depois de feita nesta
cidade a aclamação da Carta Constitucional e o reconhecimento de D.
Maria II, e por consequência depois de proclamada a reacção à
proclamação de D. Miguel, como rei absoluto, que havia tido lugar em 25
de Abril antecedente.
Como não havia quartel, foi o batalhão ocupar, parte o
convento de S. Domingos, e parte, o palácio a esse tempo desabitado dos
Marqueses de Arronches, que hoje pertence ao Sr. Arcipreste deste
distrito eclesiástico, reverendo Manuel Ferreira Pinto de Sousa
(7).
Em S. Domingos, servia-se a parte do batalhão ali alojado, pela portaria
que ainda hoje existe debaixo da torre e ocupando algumas casas baixas
nos pátios do convento, tinha as casernas nas varandas que cercavam o
claustro, exceptuada a do norte, da qual os frades não podiam
prescindir, porque por ela se subia aos dormitórios. Nas três restantes
estendeu-se uma tarimba que as ocupava todas, ficando uma estreita
passagem entre ela e os parapeitos, e tapados os vãos entre as colunas
que sustentavam o respectivo tecto por taipais de madeira que de noite
se fechavam, abrindo-se de dia para renovação do ar.
Enquanto o batalhão esteve em Aveiro, havia guarda
principal comandada por oficial subalterno; era na Praça do Comércio e
na casa que hoje pertence à família Fontes; todos os dias era rendida
com música que tocava, enquanto iam render-se as sentinelas da cadeia e
casas do Comandante e do Governador Militar, entidade que houve até
1834, sendo sempre um oficial superior. O batalhão veio para Aveiro
depois da paz geral em 1814, e o Governador Militar era também às vezes
um capitão.
Quando, na ocasião de render-se a guarda, se via chegar à
praça o comandante e outros oficiais, entre os quais o cirurgião-mor ou
o seu ajudante, desde logo se ficava sabendo que haveria nesse dia o
repugnante espectáculo da flagelação, bárbaro castigo então em uso. Com
efeito, pouco depois aparecia
/ 191 /
o infeliz condenado, que ali recebia o número de varadas que lhe tinham
sido designadas, salvo se antes de completo o castigo, o facultativo
assistente declarava que o paciente não podia receber mais sem risco de
vida; entretanto a música tocava, mas nem sempre conseguia abafar os
gritos e lamentos lancinantes do padecente; havia-os, porém, que
recebiam todo o castigo sem um único ai; depois lá iam amparados por
dois camaradas em direcção do hospital.
Também ali era visto com frequência o castigo de carregar
com armas; o soldado ao qual esse castigo era aplicado, permanecia um
certo número de horas em pé, na frente da casa da guarda, tendo uma
espingarda em cada um dos ombros e duas ou mais atravessadas em cruz, e
seguras de modo que não resvalassem.
Estes e outros castigos não contribuíram pouco para a
repugnância da mocidade ao serviço militar, repugnância que felizmente
se acha muito desvanecida. O soldado, além da enxerga, tinha apenas uma
manta.
Tendo-se já falado na capitania-mor de ordenanças, deve
acrescentar-se que desde o princípio do século passado foram
capitães-mores a seguir a Manuel de Sousa da Silveira, da Casa do
Terreiro, Miguel Rangel de Quadros, da Rua Direita, que era o morgado
dos Santos Mártires; João Crisóstomo da Veiga e Lima, que, sendo culpado
na devassa, chamada de rebelião, morreu homiziado, e Gabriel Lopes de
Morais e Mariz Picado de Figueiredo Leão Balacó, morgado de Santa
Catarina, o qual, tornando-se excessivamente faccioso, em favor de D.
Miguel, teve de retirar para a Guarda, donde regressou passados que
foram muitos anos, e falecendo enfim nesta cidade.
Os últimos capitães das companhias da cidade foram José
Pereira da Cunha, Januário António Rodrigues Mieiro, Agostinho de Sousa
Lopes, e Alexandre Ferreira da Cunha. Este último, que era cavaleiro de
Santiago, por serviços durante as invasões francesas, foi reformado em
capitão-mor em 1829, não chegando a tirar patente, porque logo nesse
mesmo ano e pouco depois faleceu.
BATALHÃO DE VOLUNTÁRIOS REALISTAS
Durante o governo de D. Miguel houve também nesta cidade
um batalhão de voluntários realistas, cujo primeiro comandante José
Maria Rangel de Quadros, o morgado da Casa do Carmo, pediu a demissão
por desinteligências com as autoridades civis que lhe faziam repetidas
requisições de forças para dar cerco a casas e a quarteirões da cidade,
em busca de constitucionais que aí se imaginava estarem homiziados;
entendia que o batalhão
/ 192 /
tinha sido criado para defender D. Miguel nos campos da batalha e nunca
para dar caça a malhados, e muito mais, atendendo-se a que a maior parte
das praças do batalhão tinham parentes e amigos culpados como liberais.
Permaneceu, no entanto, fiel à causa absolutista, e tanto
que apenas D. Pedro entrou no Porto, saiu de Aveiro com seus dois irmãos
Francisco e Diogo, assentando todos três praça em um regimento de
cavalaria, recusando postos e servindo como soldados até a convenção de
Évora-Monte. Quis assim realizar a profecia que fizera, quando por
ocasião de demitir-se, alguns realistas mais facciosos o abuncalharam
de ter virado a casaca, ao que ele respondeu que infelizmente se
veria quem era mais afeiçoado a D. Miguel e à sua causa, se os que
perseguiam os liberais, ou aqueles a quem essa perseguição, por
estupidamente excedida, era altamente repugnante.
Havia um regimento de milícias (auxiliares) que reunia
para revistas e exercícios, duas vezes por ano, e extraordinariamente,
todo ou em parte, para substituir o batalhão de caçadores, depois que
este se retirou.
BISPADO
Aveiro era sede de bispado desde o reinado de D. José I,
ou antes, desde o governo do Marquês de Pombal; as datas da instituição,
extinção, sua área, história dos seus bispos e finalmente quaisquer
outras notícias que lhe sejam relativas farão objecto de uma notícia
especial.
PRAÇA MUNICIPAL, EDIFÍCIOS E RUAS QUE A CERCAM, S.
MIGUEL, PAÇO, COSTEIRA, ETC. GOVERNO CIVIL, PAÇO E LICEU
Primeiramente cumpre notar que a rua da Costeira era
muito estreita, tendo sido alargada há poucos anos à custa da parte das
casas da parte do nascente e por conta das obras públicas.
A entrada para a igreja da Misericórdia(JFS5) não era
como
agora está, mas simplesmente constava de uns degraus de pedra, em frente
da porta principal
(8).
/ 193 / A casa em que hoje está o hospital era alugada pela
Misericórdia; e o terreno que se lhe segue para o lado da Costeira era o
cemitério dos Pobres que no hospital faleciam; este era nas traseiras,
em seguida ao pátio por onde se' entra para a porta travessa da igreja,
com frente para a Corredoura e porta para esta rua, que ainda hoje lá
existe.
|
 |
|
Aveiro
- Antigo aspecto da Igreja da Misericórdia e dos Paços do Concelho.
(pág. 193) |
A Rua Direita, desde a sua entrada até à primeira
travessa que a comunica com a Rua do Loureiro, era muito mais estreita,
de maneira que a primeira casa do poente que pertencia a Luís
Cipriano Coelho de Magalhães, avançava tão fora da linha que hoje tem,
que nela havia uma janela que olhava para a Costeira; foi José Estêvão
que lhe deu a largura actual, comprando todas as casas até à dita
travessa, com o fim de fazer um jardim junto à casa que herdara de seu
pai, o que a morte o não deixou concluir, ficando, porém, a rua na
largura que ela tem.
Os Paços do Concelho foram construídos em 1797 pelo
mestre Manuel de Pinho, natural de Ovar, mas estabelecido nesta cidade,
onde deixou numerosa descendência, e diz-se que foi ele o primeiro que,
tendo edificado a Cadeia, pela primeira vez a estreou.
Até 1834 não havia Tribunal no edifício da Câmara, porque
tanto o corregedor como o provedor e juiz de fora faziam
/ 194 /
audiências em suas próprias casas, e aí mesmo presidiam aos mais
serviços da sua competência. O lado do poente do segundo andar era a
hospedaria municipal que a Câmara era obrigada a dar por certos dias aos
magistrados que chegavam de novo, até que arranjassem casa, e assim
também a certos funcionários ou pessoas de superior importância social
que à cidade viessem.
Para este fim tinha a Câmara louças, guardanapos, etc., e
mais um faqueiro de prata.
Em frente da Casa Municipal não havia aquela espécie de
terraço cercado de grades que hoje existe, mas apenas um estreito
passeio com degraus, em frente da porta, de modo que quem queria, podia
chegar às janelas das prisões inferiores para falar com algum dos
presos, ou para lhes dar esmola que eles continuamente pediam a todos os
transeuntes, pois que nesse tempo não tinham, como hoje, alimento
fornecido pelo governo, e os das prisões de cima tinham para receber as
esmolas uma corda com uma seira por aquela segura a uma das
extremidades, que puxavam acima quando alguém nela lançava alguma
esmola.
A Casa da Câmara, até que esta foi construída, era uma
pequena casa situada ao fim dum beco na Costeira e nas traseiras das
casas que depois foram incendiadas em 18..., achando-se outra casa sobre
as suas ruínas.
O Teatro foi construído em 1881, por acções, sobre as
ruínas de uma casa que existia à entrada da rua de Santa Catarina, e
tendo sido adjudicada à fazenda pública por falta
de lançador em uma execução fiscal, foi concedida à Câmara, a pedido de
José Estêvão.(JFS6)
Por alguns anos se demorou a construção, até que afinal
se levou a efeito.
Seguia-se a esta casa e ainda a uma outra o hospital
chamado de S. Brás, sobre cujas ruínas está edificado o Liceu, também a
diligências de José Estêvão.
Não era hospital, nem jamais o foi, mas sim uma
hospedaria, para aí passarem a noite os romeiros que das terras do sul
por aqui transitavam com destino a Santiago de Compostela, na Galiza.
Era crença naqueles tempos que quem não fosse a Santiago
uma vez na vida ao menos, não podia salvar-se, de modo que pouca gente
deixava de fazer esta romagem, quem podia, à sua custa; e quem era
pobre, esmolando pelo caminho. Então aí, em tempos idos, um cavalheiro
desta cidade e nela contador de fazenda, condoído dos peregrinos,
estabeleceu aquela casa com acomodações, segundo o costume do tempo,
estabelecendo-lhe rendas para sua sustentação na passagem, para pagar ao
hospedeiro, e mais despesas inerentes, o que tudo consta de um
testamento muito esquisito que deve existir no Governo Civil, onde pode
pedir-se permissão para o ler, na certeza de que há-de achar no seu
conteúdo e em diversas disposições muita graça e muita originalidade.
/ 195 / Eu só conheci umas paredes velhas e muito defumadas,
restos destas casas, pois que tendo esfriado a devoção a Santiago, os
sucessores do fundador deixaram-nas cair por inúteis, e receberam os
foros e rendas, até que tudo foi vendido há poucos anos.
O que hoje é a Praça Municipal era então ocupado pela
igreja de S. Miguel e seu adro, com excepção das estreitas ruas que o
ladeavam.
A igreja ficava ao lado do Norte, tendo a porta principal
para o poente, e batendo a capela-mor na rua da Costeira. Entre a
igreja, porém, e aquela linha de casas que hoje fecham a Praça pelo lado
do norte, havia uma travessa, beco, ou como melhor se lhe possa chamar,
correndo do nascente a poente. Deve, porém, advertir-se que esta linha
de casas, entre as quais avulta a do Correio, era então muito diferente
do que é hoje, havendo somente a porta de entrada para a Conservatória,
que era a entrada principal do palácio dos Tavares, depois Paço do
Bispo, não havendo mais coisa alguma do que era antigo. Essa porta
conserva-se no mesmo local em que então se achava; de ambos os lados
dela viam-se muros de pedra, irregulares na altura e no alinhamento, que
mostravam terem sido paredes de casas demolidas ou de logradouros de
algumas casas da rua dos Tavares, embora nesse caso lhes ficassem ao
nível dos segundos andares.
Para a rua que segue para o Alboi e a seguir à viela
muito estreita e pouco limpa que ainda hoje lá existe, havia uma pequena
casa sobradada com entrada e janelas para o poente, parecendo-me que
também tinha porta para a travessa; do lado da Costeira uma outra casa,
também pequena com frente para a rua, mas com um andar superior com
porta e janela para a travessa e com um pequeno varandim, donde para ela
se descia por uma escada de pedra. E por outra estreita escada, também
de pedra e de dois lanços se descia da travessa para a Costeira. Esta
casa, acrescentada, foi depois a morada do marchante António José Lopes.
Se era irregular por este lado o alinhamento, mais
irregular era ainda pelo lado da igreja, pela saliência da capela do
Santíssimo Sacramento, de uma sacristia da confraria do Senhor dos
Passos, da casa dos ossos e da torre. Esta, unida à capela-mor, mostrava
ser de construção posterior à da igreja, e em um dos seus lados, no qual
estava o sino menor, havia por debaixo dele uma figueira brava, pelo que
o povo chamava àquele sino o sino da figueira. Aqui e ali, junto das
paredes, viam-se cardos e outras ervas bravias.
Pelo que fica dito, é claro que a largura da travessa
devia ser muito irregular, sendo defronte da porta de entrada para o
palácio, que ela era maior, e daí caía o solo em declive para o lado do
Alboi, até ficar ao nível da rua. Parece ter ficado esta
/ 196 /
travessa para serventia do palácio, pois a alguns velhos ouvi dizer que
os Tavares costumavam fazer entrar a carruagem por esta porta e seguindo
pelo corredor que atravessando sobre um arco a rua dos Tavares, ia
entrar no salão e que aí montavam e desmontavam, o que era possível, uma
vez que o salão de espera tivesse a devida segurança de travejamento e
soalho.
Do lado da Costeira, unido à sacristia, corria um muro
até defronte da casa onde hoje está o hospital, e daí, deixando uma
abertura com três ou, quatro degraus de pedra, pela qual se fazia todo o
serviço da igreja, saindo por aí as procissões, o Sagrado Viático, etc.,
continuava o muro para o poente, deixando uma rua estreita entre ele e a
casa da Câmara.
Defronte das prisões havia no adro uma pequena capela
onde nos dias de obrigação se dizia missa aos presos.
Não sei donde saía o ordenado ao capelão; se era legado
ou das rendas da Comenda, do cabeção das sisas ou enfim donde quer que
fosse.
Então, o muro fazendo ângulo recto, seguia para o norte,
até pouco adiante da esquina da frente da igreja, havendo aí umas
escadas de pedra, largas e de não poucos degraus, por onde se descia
para a rua que segue para o Alboi, mesmo no ponto onde findava a
travessa ou serventia de que já falei. Estas escadas, porém, não davam
serventia para a igreja senão às pessoas que, morando no Alboi ou ruas
da Alfândega ou dos Tavares, quisessem evitar a volta que haviam de dar
para entrarem pelo lado do hospital.
Os muros para o adro tinham apenas a altura de
parapeitos; para fora, porém, mais altos e tanto mais quanto mais as
ruas laterais iam descendo para o norte.
O palácio dos Tavares era uma reunião de edifícios de
diversas épocas, uns fazendo ainda parte da muralha, e outros
construídos sobre a ruína dela; prolongava-se desde a casa da Alfândega,
com a qual confinava, até defronte da casa das Alminhas, deixando aí uma
rua, em seguimento da ponte e da mesma largura desta, e virando para a
Corredoura, como ainda hoje para ela se segue do Largo; de largura não
tinha mais que a da antiga muralha e para ele se entrava pela porta que
ficava na travessa de que já falei, e pela qual hoje se entra para a
Conservatória. Claro está que não havia aí as obras que modernamente se
fizeram para acomodação das repartições públicas, pois aquele corredor
seguia sempre no mesmo nível e atravessando sobre um arco a rua dos
Tavares, findava na porta de entrada para o salão de espera; esta porta
não abria ao meio do salão, mas quase junto da parede do nascente, com
uma janela para a rua dos Tavares, e duas para o lado do norte.
Mesmo no ponto onde findava o corredor da entrada, havia
uma porta pela qual se descia por uma escada de pedra até à rua da
Costeira, vindo sempre encostada à parede do edifício e
/ 197 /
terminando junto da porta da cidade que dava para a Costeira. Servia
esta escada, a quem, querendo ir ao Paço, pretendia evitar a volta pelo
adro para entrar pela porta principal.
Do salão da entrada, onde o porteiro recebia os recados,
requerimentos e mais papeis que tinham de subir à presença do bispo ou
do vigário geral, que também vivia no Paço, seguia, para o lado do
poente, a parte do edifício construída sobre as ruínas da antiga casa
pelo segundo bispo. Consta que essa casa velha, sobre cujas ruínas foi
edificada a nova, comunicava com um arco com a casa que segue ao lado da
viela estreita de que já falei, e que nessa casa era a cozinha do paço
dos Tavares; no tempo dos bispos, porém, servia ela para habitação dos criados da sege, tendo na loja as cavalariças.
Para este lado do poente é que ficava toda a habitação do
bispo; havia salas, quartos, e a cozinha; escada para a rua dos Tavares.
A sala para as recepções de mais cerimónia era logo em seguida ao salão
de entrada, ao lado do norte, seguindo-se um corredor para as diversas
casas daquele andar e uma escada para o superior, onde havia o quarto do
bispo, e além de outros aposentos, uma sala para as recepções
ordinárias, havendo junto dela uma pequena varanda com muito boas vistas
para a ria, barra e areais das costas. Ao lado do nascente do salão
havia ainda casas até à abertura das portas da cidade. A porta principal
da cidade era na parede do edifício pelo lado do Norte, ficando em
frente da entrada da ponte; a esta porta seguia-se um vão de toda a
largura da muralha, e no fim dele uma outra porta, ou antes, um arco,
deixado talvez para segunda porta, arco que ficava ao fundo da Costeira
e em frente desta rua. Entre ele, porém, e a porta, havia um vão
descoberto para onde deitava uma janela das casas ou aposentos que
ficavam ao nascente do salão a que já me referi.
Sobre o arco que fazia a porta da cidade, bem como sobre
o outro que deitava para a Costeira, havia passagens cobertas para o
jardim; encostadas à parede do edifício situado ao nascente do arco para
a Costeira, havia uma escada de pedra, correspondendo à outra que vinha
do fim do corredor de entrada a que já nos referimos, menor, porém, do
que esta e que só servia para serviço do jardineiro e do criado que
levava a água para regar as plantas.
O jardim era colocado sobre a abóbada de um casarão que
seguia desde o vão das portas da cidade até defronte da Casa das
Alminhas, havendo aí uma pequena rua em seguida da ponte e da largura
desta pouco mais ou menos, a qual voltando a nascente, à esquina da dita
casa, seguia para a Corredoura como ainda hoje se vê. Entre este casarão
e as casas que existiam no local onde se acha a de José Pereira Júnior,
com frente para a Costeira, havia um arco, e sobre ele uma varanda com
uma parreira, se bem me recordo, e que não sei se / 198 / pertencia ao
jardim se à casa da Costeira, parecendo-me, porém, que era pertença
desta. Por baixo deste arco, seguia também caminho para a Costeira, de
modo que o casarão sobre o qual estava o jardim era cercado por todos os
lados por esta passagem da Costeira para a Corredoura, pela linha que
vinha da ponte, pela que ficava ao norte, entre ele e a cortina e o
Canal, e enfim, pela abertura das portas da cidade. Chamava-se àquele
arco o arco do ferrador, porque debaixo dele existia o cepo sobre o qual
trabalhava o único ferrador que então existia na cidade, e ali mesmo
eram ferradas e sangradas as cavalgaduras ali trazidas para esse fim.
No casarão com porta para a ria, era o açougue principal
da cidade, a que chamavam o açougue do Bispo, para diferença do outro
que havia na rua de Santa Catarina, também alcunhada por este motivo, em
Rua do Açougue.
No vão entre as portas da cidade e a outra porta ou arco
do lado da Costeira, havia um casebre de cada lado, muito estreitos e
sem comunicação com a parte superior do edifício, em um dos quais, da
parte do nascente, vendia o então bem conhecido Ventura, azeite,
toucinho, e manteiga de porco, e no lado oposto cal fina de que vendia
muita quantidade para caiação de casas.
Sobre o jardim, no ângulo nordeste, havia uma estátua de
pedra, tosca, representando um homem lutando com uma serpente; acha-se
hoje no quintal do Sr. Prior da Vera Cruz. Dizia-se então que fora ali
mandada colocar por um dos senhores antigos do palácio em memória de um
criado, única pessoa que se atreveu a ir matar uma grande cobra
existente no Ilhote, e que fazia o terror de toda a população, criado
que uns diziam ter sido morto por ela, ou que, segundo outros, conseguiu
matá-la, sendo mais, provável esta segunda versão em vista do monumento
que lhe foi consagrado.
Sobre as portas da cidade, no passadiço para o jardim,
havia três janelas de peitoril que deitavam para a ponte, e à entrada do
mesmo jardim uma pequenina capela, onde o bispo D. Manuel Pacheco de
Resende ia todas as noites fazer oração; o altar e todas as paredes
interiores eram de pedra calcária, com figuras religiosas em relevo, e
parece que estas pedras se acham ainda nas sacristias da Sé Nova.
Como se vê, a rua da Alfândega, começando então logo à
esquina da ponte, segue em declive, mas então esta parte da rua era
muito estreita, mal cabendo por ela duas pessoas a par; isto porém, só
até ao ponto em que findava o declive da rua, sendo a causa desta
estreiteza uns casarões encostados ao edifício do paço, de que só
conheci as paredes, além de uma pequenina casa com frente para a rua que
vinha a seguir da Costeira pelas portas da cidade para a ponte.
Nesta pequena casa, ou antes, loja, um homem das bandas
de Guimarães que para aqui tinha vindo como caixeiro, vendia
/ 199 /
linho que, vindo-lhe do Porto por junto, ele fazia assedar e reduzir a
estrigas para a respectiva fiação.
Tudo o mais deste acrescentamento eram ruínas que pouco a
pouco foram desaparecendo, alargando-se sucessivamente a rua ate ficar
como agora se acha. Ao fim deste acrescentamento havia uma passagem da
rua da Alfândega para a dos Tavares, já fazendo parte da edificação
moderna feita pelo segundo bispo, a que se chamava o arco da Alfândega,
ficando em frente dela uma lingueta para embarque e desembarque, que
hoje se acha mais abaixo defronte da Alfândega, assim como também foi
mudada mais para poente uma outra que então existia na Praça do Pão,
ficando fronteira à outra na rua da Alfândega.
Por morte do último bispo de Aveiro, D. Manuel Pacheco de
Resende, ficou o Paço desabitado, até que em 1847 o Governador Civil que
então era o visconde da Granja, transferiu para ali o Governo Civil,
permanecendo aí até que a 20 de Julho de 1864 foi incendiado por
descuido, ficando assim até que foi reconstruído na parte que hoje forma
a casa do Sr. Manuel Antero Baptista Machado.
O edifício do Governo Civil, sem o haver privativo desde
a sua fundação em todos os distritos, ocupou primeiramente a casa da Rua
Direita, pertencente hoje aos herdeiros do general Rebocho, edifício que
então era de um sujeito da Beira, por apelido Moura, que foi quem o
edificou, adquirido pelo dito General; passou o Governo Civil para a
casa do Dr. Monteiro, ultimamente demolida para alargamento do Terreiro;
depois passou para as casas de José Maria Branco de Melo, na rua José
Estêvão, e hoje dos herdeiros do Visconde de Valdemouro. Dessa casa
passou para o Alboi nas casas que depois foram adquiridas pelo Sr.
António Taveira e que hoje são da sua viúva e filhos, e finalmente, daí
para o Paço como já se disse. Em virtude do incêndio, passou para o
Liceu onde se demorou até 1907. Quando em 1864 teve lugar o incêndio, já
não existia a parte do Paço desde as portas da cidade até ao seu extremo
nascente, o que tudo tinha sido demolido, sendo empregados os materiais
na construção do Liceu.
Este foi primitivamente colocado no Convento de Santo
António, passando para a sua casa actual entre 1860 e 1864.
--o-O-o--
A igreja de S. Miguel era a Matriz da cidade; a sua
freguesia compunha-se da parte dela que fora vila, de muros a dentro, e
do Alboi. Não sei se havia algum legado para pagar a missa dos presos,
nem o destino que teve, se é que o havia como é de crer, pois que
certamente a não diziam de graça.
|
 |
|
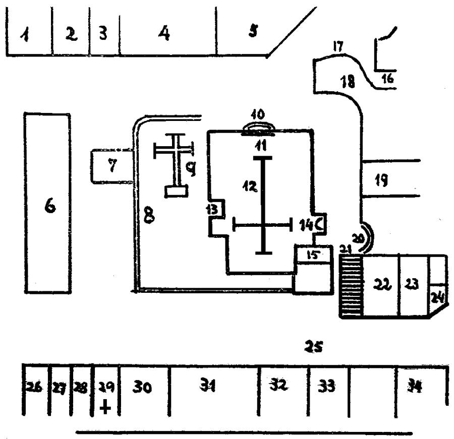
AVEIRO − O antigo Largo Municipal (hoje Praça da
República) reconstituído pela indicação de pessoas antigas.
Cópia de
uma gravura da «Revista Ilustrada». |
|
1, Casa do Veríssimo. 2, Casa de João Maria Regala. 3,
Quintal. 4, Hospital de S. Brás. 5, Pátio da Casa dos Marqueses de
Arronches. 6, Edifício dos Paços do Concelho e cadeia. 7, Capela de
Santo António para os presos ouvirem missa. 8, Paredão de perto de dois
metros de altura. 9, Adro e Cruzeiro. 10, Porta principal da igreja de
S. Miguel. 11, Igreja de S. Miguel. 12, Esta igreja era interiormente do
tipo da actual Matriz de Esgueira. 13, Porta travessa. 14, Porta
lateral. 15, Torre de agulha muito elevada com um galo de bronze no
topo, e na parede roída uma figueira brava. 16, Viela. 17, Descida para
o bairro de Alboi. 18, Casa do Leão. 19, Casa pequena. 20, Entrada do
Paço do Bispo. 21, Escadas para a Costeira. 22, Casa do Luís Carniceiro.
23, Casa do Roque da Costeira. 24, Casa de D. Maria Magalhães. 25, Rua
da Costeira. 26, 27, 28, Três casas de aluguer pertencentes à Santa Casa
da Misericórdia e onde esteve o Hospital. 29, Igreja da Misericórdia.
30, Casa do despacho. 31, Casa de Bento Charriça que depois foi de José
Resende. 32, Casa de Manuel Luís. 33, Casa que depois foi dos herdeiros
de António José Lopes. 34, Casa da Cerca Velha. (Referências extraídas
da "Revista Ilustrada") |
|
Tinha esta igreja capelas em todo o seu comprimento, com
retábulos antigos e velhos sem merecimento, exceptuando dois
/ 201 / altares modernos, feitos poucos anos antes da demolição,
para os dois lados do arco cruzeiro, os quais não condiziam com os
restantes, e lá foram para S. Domingos, onde estiveram ao lado do
camarim, até que o velho retábulo assim composto sem homogeneidade, foi
substituído pelo actual.
Num destes dois altares era venerada na igreja uma imagem
de Nossa Senhora, da invocação da Graça; transferida para a igreja de S.
Domingos, foi crismada em Nossa Senhora da Glória e ficou sendo o orago
da freguesia. Esta mudança de invocação far-se-ia por ser nome próprio
da rainha Senhora Dona Maria Segunda − Maria da Glória? Não sei. Ela
algum motivo teve, qual não sei, sendo certo que ao tempo o partido da
Rainha e da Carta estavam então em toda a sua pujança.
Ora as capelas laterais eram mais ou menos fundas, sem
simetria alguma, apresentando assim pela parte exterior saliências
angulosas, o que, com o denegrido das paredes, todas de pedra igual à da
antiga muralha e sem revestimento, davam ao edifício um aspecto mais do
que desagradável. Além destas capelas, uma outra havia muito mais
saliente para o adro; era a de Santa Catarina, pertencente ao morgado
Balacó, a qual comunicava com a igreja por uma porta que somente se
abria uma vez por ano, para celebração da missa a que o administrador do
vínculo então era obrigado por determinação do instituidor.
Este morgado foi extinto e extinta se acha a família
Balacó, tendo os últimos membros dela vendido os bens e foros que lhe
restavam. Entre outros, tinha os de todas as casas da rua de Santa
Catarina, e em algumas delas se vê ainda nos prédios exteriores a roda
de navalhas, para prova de que eram foreiras a este morgado.
Era esta igreja a sede da comenda de S. Miguel de Aveiro,
da Ordem de Avis, cujo último donatário foi frei João da Costa de Cabedo.
O pároco era vigário, mas geralmente chamado Prior, para o distinguirem
talvez dos vigários das três restantes freguesias da cidade, que eram
como que seus sufragâneos. Apresentava-o o Rei pela Mesa da Consciência
e Ordens.
No último ano rendeu esta Comenda, calculado o rendimento
pelo preço dos géneros, 1.927$473 réis, assim distribuído: a terça
parte, 642$493 réis, ao comendador; duas nonas partes, 428$325 réis, ao
bispo da diocese de Aveiro; uma nona parte, 2I4$165 réis, à Patriarcal;
ao pároco 4$000 réis, 128 alqueires de trigo, outro tanto de cevada,
quatro pipas de vinho, e o terço das miúças, afora dos alhos e cebolas;
a cada um dos quatro beneficiados 48$000 réis; ao coadjutor 164$525
réis; aos vigários das outras três freguesias da cidade 40$000 réis a
cada um; o restante, 44$085 réis, paga uma pensão ao Colégio dos
Militares de Coimbra, era distribuído para guisamentos pela Sé e
freguesias da cidade.
/ 202 / Não só dos frutos da terra se pagava o dízimo para a
Comenda, mas também do sal e do pescado vendido na praça de Aveiro.
Tinha além disto a Comenda alguns foros, entre os quais um de 1$067
réis, que lhe era pago por José Maria Branco de Melo.
Quanto aos beneficiados, é certo que na igreja de S.
Miguel não havia Colegiada desde muitos anos. Ora, como na Misericórdia
havia um coro de quatro capelães e dois meninos de coro, instituído por
D. Isabel da Luz Figueiredo, mas nos anos que alcancei, funcionavam nela
oito ou nove clérigos, presumo que pela erecção do bispado e da erecção
da igreja da Misericórdia em Sé, o Bispo, para ter o clero mais numeroso
e haver na mesma Sé um certo número de clérigos para os respectivos
serviços, fazia reunir aos capelães da Misericórdia os beneficiados de
S. Miguel, suprimindo assim e por esta forma, a falta de cabido que
nesta Sé não havia.
Não sei se isto assim seria; é, porém, certo que pela
extinção da Comenda os beneficiados deixaram de ter côngrua e que o coro
da Misericórdia foi suprimido por deliberação da Mesa, em 2 de Abril de
1838, por diversos fundamentos, entre os quais, os de se haverem
suprimido alguns capelães, e de se acharem os restantes, uns
impossibilitados e não sendo os outros suficientes para o cumprimento
das suas respectivas obrigações.
Houve muito quem censurasse, assim como houve quem
aplaudisse a demolição desta igreja, chegando a dizer-se e até a
escrever-se em periódicos e folhetos que o facto procedera por ter ela
por orago S. Miguel, − o nome do príncipe proscrito. Não o acredito. É,
porém, certo que, transferida a igreja paroquial para S. Domingos, e não
podendo a freguesia custear as despesas de conservação e do culto em
duas igrejas, se ela ficasse abandonada em breve cairia em ruínas como
aconteceu à igreja do Espírito Santo, cuja demolição principiou em 29 de
Março de 1858. Tanto uma como outra nada tinham que as recomendasse.
Continua na página 259
−
►►►
JOSÉ FERREIRA DA CUNHA E SOUSA
______________________________________________
(5) − Este largo (Ilhote) encontra-se
presentemente aterrado, e nele se está construindo o edifício do Mercado
Municipal, cujas obras começaram no dia 29 de Abril de 1940. FERREIRA
NEVES.
(6)
− Desde 1918 existe outro cemitério. FERRElRA NEVES.
(7) − Este palácio pertence hoje ao Liceu Nacional
de Aveiro. FERREIRA NEVES.
(8)
−
Esse sistema de entrada para a igreja por um
patamar servido por duas escadas foi eliminado, tendo-se regressado à
primeira forma de entrada, há alguns anos. FERREIRA NEVES
(JFS1) − Igreja
do Espírito Santo. − O cruzeiro foi demolido em 13 de Agosto de 1841. −
A Junta de Paróquia mandou arrear a telha no dia 6 de Novembro de 1843.
[Nota de JOSÉ
FERREIRA DE SOUSA]
(JFS2) − Igreja de S. Domingos. A torre foi construída no sítio onde
existia a capela de N. Senhora da Escadinha, da qual nada se aproveitou.
A porta existente foi construída de novo para dar entrada para a torre e
para o pátio interior. Esta torre fê-la o mestre de obras Bernardo
António da Graça, de Aveiro, e a demolida estava sendo construída pelo
mestre de obras Fernando Manuel Homem Cristo. Na torre foram colocados:
o sino balão e o sino da figueira, que eram de S. Miguel, e os dois
sinos do Espírito Santo. Pouco depois, foi trocado um dos sinos do
Espírito Santo pelo sino dos Frades, que existia num campanário que
ainda se conserva, − por se reconhecer que fazia melhor conjunto com os
outros. Este sino, tirado da torre, foi mais tarde vendido para a Sé,
donde em 1911 seguiu para as Carmelitas, onde rachou e ali se conserva.
A construção da torre principiou em 11 de Outubro de 1860. A obra parou
nos fins de Dezembro do mesmo ano, para recomeçar no dia 4 de Fevereiro
de 1861. Ficou concluída em 9 de Agosto de 1862. Os sinos tocaram pela
primeira vez numa quarta-feira, 28 de Maio de 1862, véspera da Ascensão.
[Nota de JOSÉ
FERREIRA DE SOUSA]
(JFS3) −
Cemitério. − O primeiro enterramento no cemitério fez-se no dia 12 de
Dezembro de 1835, e foi sepultado Francisco de Almeida, carpinteiro, da
rua do Espírito Santo. Esteve por sepultar durante três dias, porque o
povo não queria que ele fosse enterrado nos canoilos (assim chamava o
povo àquele terreno, por ter ainda os canoilos do milho, ultimamente ali
semeado). Tinham-lhe aberto sepultura na igreja do Espírito Santo e
outra na igreja da Ordem Terceira. [Nota de JOSÉ FERREIRA DE
SOUSA](JFS4) − A procissão dos Passos saía do Carmo e recolhia em S.
Miguel. A capela do Terreiro era um Passo privativo. [Nota de JOSÉ
FERREIRA DE SOUSA]
(JFS4) − A
procissão dos Passos saía do Carmo e recolhia em S. Miguel. A capela do
Terreiro era um Passo privativo. [Nota de JOSÉ FERREIRA DE SOUSA]
(JFS5) − A
antiga entrada para a igreja da Misericórdia era para uma escada em
frente da porta, e saliente. Como avançava muito para a rua, foi
substituída, no tempo do provedor António de Sá Barreto de Noronha, por
um patamar e duas escadas laterais, que há pouco existiam. A Rua da
Costeira foi alargada à custa das casas do Nascente e Poente. A nota
está errada, pois não foi o sistema primitivo o agora adoptado. [Nota de
JOSÉ FERREIRA DE SOUSA]
(JFS6) − O
teatro actual foi construído sobre as paredes, já a meia altura, do
teatro que em tempos fora principiado, no sítio da tal casa de que fala
o Arquivo. [Nota de JOSÉ FERREIRA DE SOUSA] |